高中化学知识点讲解《物质组成与性质实验方案的设计》高频试题特训(2017年最新版)(一)

时间:2017-02-07 14:51:15

微信搜索关注"91考试网"公众号,领30元,获取事业编教师公务员等考试资料40G

1、选择题  下列不能达到实验目的的是

序号
实验内容
实验目的

A
用石墨电极电解Mg(NO3)2、Cu( NO3)2的混合液
比较确定铜和镁的金属活动性强弱

B
测同温同浓度Na2CO3和Na2SiO3水溶液的pH
确定碳和硅两元素非金属性强弱

C
室温下,用pH试纸测定浓度为0.1mol·L-1NaClO溶液和0.1mol·L-1CH3COONa溶液的pH
比较HClO和CH3COOH的酸性强弱

D
室温下,分别向2支试管中加入相同体积、相同浓度的Na2S2O3溶液,再分别加入相同体积不同浓度的稀硫酸
研究浓度对反应速率的影响


?



2、简答题  无水亚硫酸钠隔绝空气加热到600℃便开始分解,分解产物是硫化钠和另外一种固体.某学生将无水亚硫酸钠受热后的试样溶于水制成浓溶液,用下图所示的实验装置进行实验,他向试样溶液中缓缓地逐滴加入稀盐酸,根据实验现象判断固体试样含有什么成分?(已知:Na2?S+2HCl═2NaCl+H2S+SO2+2H2S═3S+2H2?O)
(1)无水亚硫酸钠受热分解的化学方程式是______,装置中的NaOH溶液的作用是______.
(2)如果加热温度在600℃以上,再向所得固体的试样溶液中缓缓滴加稀盐酸至足量,观察到CuSO4溶液中出现黑色沉淀,试分析其他装置中可能出现的现象.试样溶液:______,解释这种现象的离子方程式是______;品红溶液:______,出现这种现象的原因是:______.
(3)若加入了足量的稀盐酸后,品红溶液和CuSO4溶液中仍无明显的现象发生,原因是______.91考试网



3、实验题  下图是用来进行乙醇的氧化和氧化产物的检验的实验装置。可供选择的试剂有:氧化铜粉末、乙醇、新制氢氧化钙悬浊液、银氨溶液,溴水、高锰酸钾溶液所需其他仪器任选。(不考虑装置内空气的存在)

(1)做乙醇氧化实验时,C中应装___________________。
(2)在_________处加热,实验一段时间后A处的实验现象___________________。
(3)在检验乙醇氧化产物时,对B、D的具体操作方法为___________________。其中反应的化学方程式为___________________。



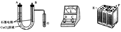
4、实验题  某学生试图用电解法根据电极上析出的物质的质量来测定阿伏加德罗常数值。其实验方案的要点为:
①用直流电电解氯化铜溶液,所用仪器如图;
②在电流强度为I安培,通电时间为t分钟后,精确测得某电极上析出的铜的质量为m克。
试回答

(1)连接这些仪器的正确顺序为(用图中标注仪器接线柱的英文字母表示)E接____,C接____,____接F。
(2)写出B电极上发生反应的离子方程式____________,G试管中淀粉KI溶液变化的现象为____________;相应的离子方程式是____________________
(3)为精确测定电极上析出铜的质量,所必需的实验步骤的先后顺序应是_____(选填下列操作步骤的编号)。
①称量电解前电极质量;②刮下电解后电极上的铜并清洗;③用蒸馏水清洗电解后电极;
④低温烘干电极后称量;⑤低温烘干刮下的铜后称量;⑥再次低温烘干后称量至恒重。
(4)已知电子的电量为1.6×10-19库仑。试列出阿伏加德罗常数的计算表达式:NA=____________。



5、选择题  下图是制取、洗涤并测量生成气体体积的装置示意图,利用该装置进行下表所列实验,能达到实验目的的是 (???)

物质
实验
a(液体)
b(固体)
c(液体)

A
稀硫酸
锌粒
浓H2SO4

B
稀硫酸
石灰石
浓H2SO4

C
浓硫酸
Cu片
NaOH溶液

D
稀HNO3
Cu片
H2O


?




微信搜索关注"91考试网"公众号,领30元,获取公务员事业编教师考试资料40G