时间:2018-03-17 07:48:43
1、选择题 下列热化学方程式或说法正确的是
[? ]
A.甲烷的燃烧热为△H=-890 kJ/mol,则甲烷燃烧的热化学方程式可表示为:CH4(g)+2O2(g)=CO2(g)+
2H2O(g) △H=-890 kJ/mol
B.500℃、30MPa下,将0.5 mol N2和1.5 mol H2置于密闭的容器中充分反应生成NH3(g),放热19.3 kJ,其热化学方程式为:N2(g)+3H2(g)
2NH3(g) △H=-38.6 kJ/mol
C.已知:H2(g)+F2(g)=2HF(g) △H= -270 kJ/mol,则1mol氢气与1 mol氟气反应生成2 mol液态氟化氢放出的热量小于270 kJ
D.在C中相同条件下,2 mol HF气体的能量小于1 mol 氢气与1mol氟气的能量总和
2、填空题 研究NO2、SO2 、CO等大气污染气体的处理具有重要意义。
(1)NO2可用水吸收,相应的化学反应方程式为 。利用反应6NO2+ 8NH3
7N2+12 H2O也可处理NO2。当转移1.2 mol电子时,消耗的NO2在标准状况下是 L。
(2)已知:2SO2(g)+O2(g)
2SO3(g) ΔH="-196.6" kJ·mol-1
2NO(g)+O2(g)
2NO2(g) ΔH="-113.0" kJ·mol-1
则反应NO2(g)+SO2(g)
SO3(g)+NO(g)的ΔH= kJ·mol-1。
一定条件下,将NO2与SO2以体积比1:2置于密闭容器中发生上述反应,下列能说明反应达到平衡状态的是 。[91exam.org
a.体系压强保持不变
b.混合气体颜色保持不变
c.SO3和NO的体积比保持不变
d.每消耗1 mol SO3的同时生成1 molNO2
测得上述反应平衡时NO2与SO2体积比为1:6,则平衡常数K= 。
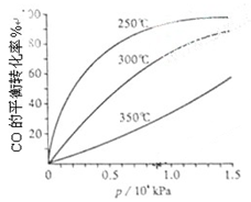
(3)CO可用于合成甲醇,反应方程式为CO(g)+2H2(g)
CH3OH(g)。CO在不同温度下的平衡转化率与压强的关系如下图所示。该反应ΔH 0(填“>”或“ <”)。实际生产条件控制在250℃、1.3×104kPa左右,选择此压强的理由是 。
3、选择题 已知下列热化学方程式
⑴C(s)+1/2O2(g)=CO(g) △H1="-110." 5kJ/mol
⑵2H2(g)+O2(g)=2H2O(g) △H2=-483.6 kJ·
由此可知C(s)+ H2O(g) ="=" CO(g) + H2(g) ΔH3。则 ΔH3等于
A.+131.3kJ·mol-1
B.-131.3kJ·mol-1
C.+373.1kJ·mol-1
D.-373.1kJ·mol-1
4、选择题 化学反应N2+3H2
2NH3的能量变化如图所示,该反应的热化学方程式是( )
A.N2(g)+3H2(g)
2NH3(l) ΔH=2(a-b-c)kJ·mol-1
B.N2(g)+3H2(g)
2NH3(g) ΔH=2(b-a)kJ·mol-1
C.N2(g)+H2(g)
NH3(l) ΔH=(b+c-a)kJ·mol-1
D.N2(g)+H2(g)
NH3(g) ΔH=(a+b)kJ·mol-1
5、选择题 “长征二号”运载火箭将我国“神舟七号”飞船在中国酒泉发射中心成功发射,实现了太空行走的目标。发射火箭时以肼(N2H4)为燃料,二氧化氮做氧化剂,两者反应生成氮气和气态水。已知4?g?N2H4(g)在上述反应中放出71?kJ的热量,下列热化学方程式正确的是
[? ]
A.N2H4+NO2===3/2N2+2H2O?ΔH=-568?kJ/mol
B.2N2H4(g)+2NO2(g)===3N2(g)+4H2O(g)?ΔH=-1136kJ/mol
C.2N2H4(g)+2NO2(g)===3N2(g)+4H2O(g)?ΔH=+1136kJ/mol
D.N2H4(g)+NO2(g)===3/2N2(g)+2H2O(g)?ΔH=-71?kJ/mol