时间:2017-08-07 15:37:01
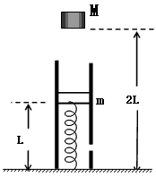
1、计算题 如图有一个竖直固定在地面的透气圆筒,筒中有一劲度系数为k的轻弹簧,其下端固定,上端连接一质量为m的薄滑块,圆筒内壁涂有一层新型智能材料——ER流体,它对滑块的阻力可调。起初,滑块静止,ER流体对其阻力为0,弹簧的长度为L,现有一质量为M=2m的物体从距地面2L处自由落下,与滑块瞬间碰撞后粘在一起向下运动。为保证滑块做匀减速运动,且下移距离为
(g为重力加速度)时速度减为0,ER流体对滑块的阻力须随滑块下移而变。试求(忽略空气阻力):
(1)下落物体与滑块碰撞过程中系统损失的机械能;
(2)在滑块下移停止之前的过程中,ER流体对滑块阻力的大小f与下滑距离d所满足的函数关系式。 
2、计算题 如图所示,一水平轨道左端与一倾斜轨道平滑连接,右端与一半径为R的竖直面内的圆轨道连接,小球B静止在水平轨道上,小球A从倾斜轨道上某高度处由静止开始下滑,与B发生无能量损失的弹性正碰,不计一切摩擦,已知A、B的质量分别为mA=m,mB=3m,若碰后小球B恰好能通过圆轨道的最高点,求释放小球A的初始位置距离水平轨道的高度h。

3、简答题 如图12所示,水平平板小车质量为m=" 2kg," 其上左端放有一质量为M=6kg的铁块,铁块与平板车间的动摩擦因数μ=0.5,今二者以10m/s的速度向右运动,并与墙发生弹性碰撞,使小车以大小相同的速度反弹回,这样多次进行,求:
① 欲使M不从小车上落下,小车至少多长?
② 第一次反弹后到最终状态,小车运动的总路程.(小车与水平面的摩擦不计,g=10m/s2 )
4、计算题 如图所示,足够长的绝缘光滑水平面上分别固定着大小、形状完全相同的两个物体A、B,相距L=0.2 m,它们的质量mA=mB=0.2kg,其中A物体带正电,电量q=2×10-8C,B物体不带电。水平面上方存在水平向右的匀强电场,场强E=2.5×107N/C,在t=0时刻同时撤去固定两物体的外力后,A物体将沿水平面向右运动,并与B物体发生连续碰撞(碰撞时间极短),两物体碰撞时A物体电量不发生变化,并且每次碰撞时两物体速度均发生相互交换(g取10m/s2)。求:
(1)从A开始运动到两物体第一次相碰经历的时间;
(2)第二次碰撞时,A物体对B物体做的功;
(3)从开始至第n次碰撞时B物体通过的路程。 
5、选择题 如图所示,光滑水平面上有大小相同的A、B两球在同一直线上运动。两球质量关系为mB=2mA,规定向右为正方向,A、B两球的动量均为6 kg·m/s,运动中两球发生碰撞,碰撞后A球的动量增量为-4 kg·m/s,则( ? )
