时间:2017-03-02 11:02:28
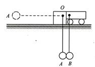
1、计算题 如图所示,质量为0.3kg的小车静止在足够长的光滑轨道上,小车下面挂一质量为0.1kg的小球B,在旁边有一支架被固定在轨道上,支架上O点悬挂一质量也为0.1kg的小球A。两球球心至悬挂点的距离L均为0.2m,当两球静止时刚好相切,两球球心位于同一水平线上,两悬线竖直并相互平行。将A球向左拉至悬线水平时由静止释放与B球相碰,碰撞过程中无机械能损失,两球相互交换了速度,取
。求:
(1)碰撞后B球上升的最大高度。
(2)小车能获得的最大速度。
2、简答题 如图所示,在光滑绝缘水平面上,不带电的绝缘小球P2静止在O点.带正电的小球P1以速度v0从A点进入AB区域.随后与P2发生正碰后反弹,反弹速度为
| 2 3 |
| 4L0 3 |
| qE0 m1 |
| 4v02 3L0 |

3、选择题 如图所示,光滑圆槽的质量为M,静止在光滑的水平面上,其内表面有一小球被细线吊着恰位于槽的边缘处,如果将线烧断,则小球滑到另一边的最高点时,圆槽的速度为
[? ]
A.0
B.向左
C.向右
D.无法确定
4、填空题 光滑水平面上两小球a、b用不可伸长的松弛细绳相连。开始时a球静止,b球以一定速度运动直至绳被拉紧,然后两球一起运动,在此过程中两球的总动量 (填“守恒”或“不守恒”);机械能 (填“守恒”或“不守恒”)。
5、选择题 两球A、B在光滑水平面上沿同一直线,同一方向运动,mA="1" kg,mB="2" kg,VA="6" m/s,VB="2" m/s。当A追上B并发生碰撞后,两球A、B速度的可能值是( )
A. VA′="5" m/s, VB′="2.5" m/s B. VA′="2" m/s, VB′="4" m/s
C. VA′=-4 m/s, VB′="7" m/s D. VA′="7" m/s, VB′="1.5" m/s