时间:2020-08-09 23:33:32
1、选择题 不定项选择
一定质量气体作等容变化,温度降低时,气体的压强减小,这时( ? )
A.分子平均动能减小
B.分子与器壁碰撞时,对器壁的总冲量减小
C.分子平均密度变小了
D.单位时间内分子对器壁单位面积的碰撞次数减少
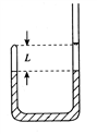
2、计算题 【选修3-3选做题】
如图为均匀薄壁U形管,左管上端封闭,右管开口且足够长,管的截面积为S,内装有密度为ρ的液体,右管内有一质量为m的活塞搁在固定卡口上,卡口与左管上端等高,活塞与管壁间无摩擦且不漏气,温度为T0时,左、右管内液面等高,两管内空气柱长度均为L,压强均等于外界大气压P0,重力加速度为g,现使左、右两管温度同时缓慢升高,在活塞离开卡口上升前,左、右两管液面保持不动,试求:
(1)温度升高到多少时,右管活塞开始离开卡口上升;
(2)温度升高到多少时,两管液面高度差为L。
3、填空题 小车上固定一横截面积为S的一端封闭的均匀玻璃管,管内用长为l的水银柱封住一段气体(如图所示),若大气压强为P0,则小车以加速度a向左加速运动时,管内气体压强为____。(水银的密度为ρ)

4、选择题 一定质量的理想气体处于某一平衡状态,此时其压强为P0,有人设计了四种途径,使气体经过每种途径后压强仍为P0,这四种途径是:
①先保持体积不变,降低压强,再保持温度不变,压缩体积;
②先保持体积不变,使气体升温,再保持温度不变,让体积膨胀;
③先保持温度不变,使体积膨胀,再保持体积不变,使气体升温;
④先保持温度不变,压缩气体,再保持体积不变,使气体降温。
可以判定
[? ]
5、计算题 如图所示,长为L的封闭气缸中,有一个隔热且厚度不计并能自由滑动的活塞,当活塞位于正中央时,用K卡住,此时A内气体压强是B内气体压强的n倍(n>1),温度不变,若拔去K,活塞将向B方向移动多少?
