时间:2019-07-02 23:39:38
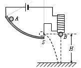
1、计算题  如图所示,位于竖直平面上的1/4圆弧光滑轨道,半径为R,OB沿竖直方向,圆弧轨道上端A点距地面高度为H,质量为m的小球从A点静止释放(球达B点水平速度大小等于球由O点自由释放至B点速度大小),最后落在地面C处,不计空气阻力,(g=10 m/s2)求:
(1)小球刚运动到B点时,对轨道的压力多大;
(2)小球落地点C与B的水平距离s为多少。 
2、选择题  不定项选择
如图所示,在研究平抛运动时,小球A沿轨道滑下,离开轨道末端(末端水平)时撞开轻质接触式开关S,被电磁铁吸住的小球B同时自由下落。改变整个装置的高度做同样的实验,发现位于同一高度的A、B两球总是同时落地。该实验现象说明了A球在离开轨道后( ? )
A.水平方向的分运动是匀速直线运动 
B.水平方向的分运动是匀加速直线运动
C.竖直方向的分运动是自由落体运动 
D.竖直方向的分运动是匀速直线运动
3、计算题  某人驾驶摩托车匀速行驶至某处遇到5m宽的沟,若对面比此处低4.9m,则此人驾车的速度至少要多大才能安全跃过此沟?(g="9.8" m/s2)
4、简答题  如图甲所示是“研究平抛物体的运动”的实验装置图.
(1)关于这个实验,以下说法中正确的是______
A.小球释放的初始位置越高越好
B.每次小球要从同一高度由静止释放
C.实验前要用重锤线检查平板是否竖直
D.小球做平抛运动时要靠近平板但不能与平板接触
(2)某同学在描绘平抛运动轨迹时,得到的部分轨迹曲线如图乙所示.在曲线上取A、B、C三个点,测量得到相邻两点间的竖直距离h1=10.20cm,h2=20.20cm,水平距离x1=x2=12.40cm,则物体平抛运动的初速度大小为______m/s.(g取10m/s2)
5、填空题  将一物体以v0=8m/s的初速度水平抛出,不计空气阻力,已知抛出点离地面的高度为h=1.8m。g取10m/s2,则物体在空中飞行时间为??;物体飞行的水平距离是??;物体落地时的速度大小为??。