时间:2019-06-23 22:17:07
1、填空题 如图,两人对拉质量为m=50Kg的小车,F1="300N" , F2=100N,小车加速度的方向?,加速度的大小?m/s2。
2、选择题 一个质量为1kg的物体在光滑水平面上A、B两点的正中间由静止开始运动(设不会超越A、B),其水平方向的外力F随时间的变化如图所示.设向A的外力F为正方向,若从出发开始计时,则物体的运动情况是( )
A.在AB间作往返运动,4s末将处于原处
B.在AB间作往返运动,4s末将处于偏向A的某点
C.一直向A运动,4s末将处于偏向A的某点
D.一直向B运动,4s末将处于偏向B的某点
3、简答题 如图所示,从阴极K发射的热电子(初速度不计)质量为m、电量为e,通过电压U加速后,垂直进入磁感应强度为B、宽为L的匀强磁场(磁场的上下区域足够大)中.求:
(1)电子进入磁场时的速度大小;
(2)电子离开磁场时,偏离原方向的距离.
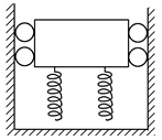
4、选择题 如图所示,一升降机在箱底装有若干弹簧,设在某次事故中,升降机吊索在空中断裂,忽略摩擦力,则升降机在从弹簧下端触地后直到最低点的一段运动过程中( )
A.升降机的速度不断减小
B.升降机的加速度不断变大
C.升降机的加速度最大值等于重力加速度值
D.升降机的加速度最大值大于重力加速度值
5、计算题 如图所示,薄板A长L=5m,其质量M=5kg,放在水平桌面上,板右端与桌边相齐。在A上距右端s=3m处放一物体B(可视为质点),其质量m=2kg。已知AB间动摩擦因数μ1=0.1,A与桌面间和B与桌面间的动摩擦因数均为μ2=0.2,原来系统静止。现在板的右端施加一水平恒力F,可将A从B下抽出,且恰可使B停于桌的右边缘。求:
(1)B运动的时间;
(2)水平恒力F的大小。 