高考地理试题《水的运动》在线测试(2020年最新版)(十)

时间:2021-03-15 06:26:42

微信搜索关注"91考试网"公众号,领30元,获取事业编教师公务员等考试资料40G

1、单选题  关于河流的补给,叙述正确的是:(?)
A.所有河流流量的变化与降水量变化相一致
B.地下水能够补给河流,但河流不能补给地下水
C.塔里木河受冰川融水补给作用明显
D.修建水库可以人工拦蓄洪水,增加江河经流量


参考答案:C


本题解析:本题考查各种水体之间的关系。只有以大气降水补给为主的河流,河流流量的变化才与降水量变化相一致;地下水与河流水之间存在互补的关系(看水位的高低);
水库可以调节河流的径流量,即洪水期蓄洪,枯水期增加河流径流量。


本题难度:简单



2、单选题  人类修建水库影响最大的水循环的环节是
[? ]
A、水汽输送
B、地表径流
C、大气降水
D、海水蒸发


参考答案:B


本题解析:


本题难度:一般



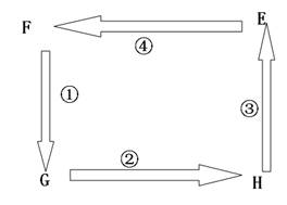
3、单选题  读下图完成1~2题

1.若该图为海陆间水循环示意图,下列城市中,过程④在一年之中持续时间最长的是
A.上海
B.鹿特丹
C.孟买
D.开普敦
2、若该图为太平洋环流示意图,且E、F两地附近全年昼夜等长,则
A.①洋流沿岸地区形成大面积的温带落叶阔叶林
B.②洋流自西向东依次穿过大西洋、太平洋、印度洋
C.③洋流附近形成热带荒漠景观
D.④洋流属于风海流,是东亚和北美太平洋间最佳航线


参考答案:1、B? 2、C


本题解析:略


本题难度:一般



4、综合题  读水循环示意图,完成下列各题。

(1)将图中未标明箭头的直线标出箭头。
(2)填出下列代号所表示的水循环的环节。
? A___________,C___________,F___________,G___________。
(3)请找出图中参与海陆间大循环的环节,并将其代号列出_________________________________。
(4)从图中分析,水循环的能量来源于___________。
(5)图示各环节中,人类可能施加影响的是________(写字母名称)。


参考答案:(1)D代表蒸发、箭头向上,C代表水汽输送、箭头向左。
(2)蒸发;水汽输送;地表径流;地下径流
(3)
(4)太阳辐射
(5)F


本题解析:


本题难度:一般



5、单选题  下列水循环中,在地球上最为重要的是
[? ]
A、海陆间水循环
B、海洋水循环
C、内陆水循环
D、生物体内水循环


参考答案:A


本题解析:


本题难度:简单




首页 上页 9 10 下页 尾页 10/10/10
微信搜索关注"91考试网"公众号,领30元,获取公务员事业编教师考试资料40G
【省市县地区导航】【考试题库导航】
 ★ 高考省级导航 ★ 
全国 A安徽 B北京 C重庆 F福建 G广东 广西 甘肃 贵州 H河南 河北 湖南 湖北 黑龙江 海南 J江苏 江西 吉林 L辽宁 N内蒙古 宁夏 Q青海 S山东 山西 陕西 四川 上海 T天津 X新疆 西藏 Y云南 Z浙江
 ★ 高考信息汇总 ★ 
 ★ 高考历年真题 ★ 
 ★ 高考历年真题 ★ 
 ★ 高考题库 ★ 
 ★ 高考题库 ★ 

电脑版  |  手机版  |  返回顶部