时间:2020-08-01 06:42:13
1、单选题 下列图示的湖泊能分别反映松花江源头长白山天池和中游的丰满水库的一组是
A.① ③
B.① ④
C.② ③
D.② ④
参考答案:A
本题解析:本题考查考生关于湖泊对河流作用的知识以及通过等高线判定河流流向的能力.根据河流发育于山谷地区的事实,通过等高线判断河流的流向,可以得出①是河流自湖泊流出,②是河流向湖泊流入,③是湖泊位于河流的上游,④是由湖泊处发源的两条河流。长白山天池是河流的源头,与①相符合;而丰满水库位于河流上游,与③相符。
本题难度:简单
2、单选题 目前,人类大量利用的淡水资源主要是
[? ]
A、地下水、湖沼水和土壤水
B、海洋水和冰川水
C、河流水、浅层地下水和淡水湖泊水
D、冰川和生物水
参考答案:C
本题解析:
本题难度:简单
3、单选题 洋流是海洋热量的“输送带”,是沿岸环境的“调节器”。据此回答下列问题。
【小题1】、下列海域中,大洋环流呈顺时针方向流动的是 ( )
A 北半球热带、副热带海区
B 北半球中高纬海区
C 南半球热带、副热带海区
D 冬季北印度洋海区
【小题2】、下列寒流中,对大陆沿岸荒漠的形成都起重要作用的一组是( )
A 拉布拉多寒流、加利福尼亚寒流、秘鲁寒流
B 本格拉寒流、加那利寒流、千岛寒流
C 千岛寒流、加利福尼亚寒流、秘鲁寒流
D西澳大利亚寒流、本格拉寒流、加那利寒流
参考答案:
【小题1】A
【小题2】D
本题解析:
【小题1】由世界大洋洋流分布规律可知,呈顺时针流动的洋流系统有北半球热带、副热带海区和夏季北印度洋区。而北半球中高纬海区、南半球热带、副热带海区,冬季北印度洋海区则呈逆时针流动。
【小题2】洋流对沿岸气候的影响,表现为暖流使沿岸增温增湿;寒流降温减湿,使沿岸气候更干旱,促进沿岸荒漠的形成。千岛寒流和拉布拉多寒流流经的北半球中高纬大陆东岸,由于夏季风影响,降水较多,没有形成荒漠。
考点:本题考查洋流的运动规律和对地理环境的影响。
本题难度:一般
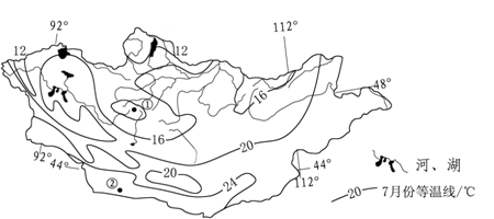
4、单选题 下图示意亚洲某内陆国水系分布和七月份气温分布情况。读图完成问题。
小题1:该国(?)
A.水汽主要来自北冰洋
B.年降水量自南向北递减
C.最大水系流域面积约占国土面积的一半以上
D.常年受西风带控制
小题2:②地的自然带为(?)
A.温带落叶阔叶林带
B.高山草甸带
C.温带荒漠带
D.亚寒带针叶林带
参考答案:
小题1:A
小题2:C
本题解析:
小题1:根据经纬度位置和轮廓可知,该国是蒙古国。离该地最近的海洋是北冰洋。所以该国水汽主要来自北冰洋。选择A项。
小题2:根据经纬度位置和轮廓可知,该国是蒙古国。处于亚欧大陆的内陆地区,气候是温带大陆性气候,形成的自然带是温带荒漠带。选择C项。
本题难度:一般
5、单选题 在两个相同的长方形塑料盒子的一端用潮湿的土壤分别搭起一座相同坡度的“小山”,从盒子的另一端倒入等量的水,形成“湖泊”;不同的是在其中一个盒子内,将一块微湿的海绵压入“小山”底端的土壤里(见下图)。分别用两个喷水壶往“小山”上洒等量水,模拟降水。观察、比较两个盒子内水面变化情况。回答3题。
【小题1】放有海绵的盒子的水面与另一盒子的水面相比
A.高出稍许
B.高度较低
C.高度相同
D.无法确定
【小题2】实验中海绵代表的地理环境是
A.黄土塬
B.沙滩地
C.沼泽地
D.自流盆地
【小题3】该实验模拟的地理事实是
A.湖泊能够调节空气湿度
B.坡度变化会改变地表径流量
C.降水变化能够影响自然环境
D.湿地能够吸纳地表径流
参考答案:
【小题1】B
【小题2】C
【小题3】D
本题解析:本题考查资料分析运用能力(湿地)。
【小题1】海绵起到拦蓄地表径流的作用,相同降水量的情况下,会使注入盒中水量减少。
【小题2】四个选项中,能具有“涵养水源”“截蓄径流”“增加下渗”等功能的地理事物只有湿地。
【小题3】实验模式湿地具有涵养水源,截蓄径流的功能。故选D项。
本题难度:一般