时间:2019-12-22 04:00:36
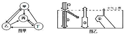
1、单选题 2013年8月18日下午,日本鹿儿岛县樱岛的昭和火山口发生爆炸性喷发,喷出的烟尘高达5000米,为观测史上最高的一次。大量火山灰直冲云霄。图甲为“地壳物质循环示意图”,图乙为“大气受热过程示意图”。读图完成下列小题。
【小题1】与昭和火山喷发形成的岩石类型一致的是图甲中的( )
A.甲
B.乙
C.丙
D.丁
【小题2】图乙数码所示辐射中,直接受弥漫在大气中的火山灰影响而减弱的是 ( )
A.①
B.②
C.③
D.④
2、单选题 图为“热力作用形成的等压面分布示意图”,图中①~④点的气压,由高到低排列顺序正确的是
A.②④③①
B.①③④②
C.④②①③
D.③②①④
3、单选题 读2013年10月4-12日,某天气系统中心位置移动经纬度示意图。完成下列各题。
【小题1】该天气系统的移动方向大致为( )
A.由正西转向西北
B.由东南向西北
C.由西北转向东北
D.由西南向东北
【小题2】该天气系统可能是( )
4、单选题 下列关于图中丙地区气候的叙述,正确的是?
A.气温年较差小,降水量季节变化明显
B.夏季受赤道低气压带控制,冬季受东北信风带控制
C.地势起伏大,气候垂直变化显著
D.寒潮、台风等气象灾害频繁发生
5、单选题 读“北半球中高纬度环流示意图”,分析以下说法正确的是( )
A.甲点位于30°N附近
B.乙点位于30°N附近
C.a是冷性气流
D.b盛行西南风