时间:2017-03-03 00:38:32
1、填空题 (1)平衡常数K表示可逆反应的进行程度,K值越大,表示______
(2)大小与温度的关系是:温度升高,K值______(填一定增大、一定减小、或可能增大也可能减小).
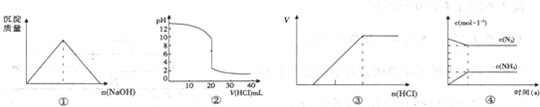
2、选择题 下列各项表述与示意图一致的是( )
A.图①表示向AlCl3溶液中滴入NaOH溶液,沉淀质量变化
B.图②表示25℃时,用0.01mol?L-1盐酸滴定20mL0.01mol?L-1NaOH溶液,溶液的PH随加人酸体积的变化
C.图③表示向Na2CO3稀溶液中滴入稀HCl,产生气体的量随加人盐酸量的变化关系
D.图④中曲线表示合成氨反应组分浓度随时间的变化关系
3、简答题 TDI、MDI等精细化工使用的H2可以通过天然气来制取,其生产流程如图1:
(1)此流程的第I步反应为:CH4(g)+H2O(g)?CO(g)+3H2(g),100℃时,将1molCH4和2molH2O(g)通入容积为100L的恒容密闭容器中,达到平衡时CH4的转化率为0.5.此时该反应的平衡常数K=______.
(2)此流程的第II步反应:CO(g)+H2O(g)?CO2(g)+H2(g)的平衡常数随温度的变化如下表:
| 温度/℃ | 400 | 500 | 830 平衡常数K 10 9 1 |
4、选择题 已知450℃时,反应H2(g)+I2(g)
2HI(g)的K=50,由此推测在450℃时,反应2HI(g)
H2(g)+I2(g)的化学平衡常数为
[? ]
A.50?
B.0.02?
C.100?
D.无法确定
5、选择题 已知:CO2(g)+3H2(g)
CH3OH(g)+H2O(g)△H=-49.0kJ?mol-1现将6molCO2和8molH2充入2L的密闭容器中,测得H2的物质的量随时间变化如图所示.以下说法不正确的是( )
A.0~1min的平均反应速率大于3~4min的平均反应速率
B.达到平衡时H2的转化率为75%
C.在其它条件不变时,曲线II的条件改变为使用催化剂
D.在其它条件不变时,曲线I的条件改变为升高温度