时间:2018-03-17 06:01:28
1、选择题  用高铁酸钠(Na2FeO4)对河湖水消毒是城市饮用水处理的新技术。已知反应
Fe2O3+3Na2O2===2Na2FeO4+Na2O,下列说法正确的是(    )
A.Na2O2既是氧化剂又是还原剂
B.Fe2O3在反应中得到电子
C.3 mol Na2O2发生反应,有12 mol e-发生转移
D.Na2FeO4能消毒杀菌是因其具有强氧化性
2、选择题  下列化学变化中,必须加入还原剂才能实现的是
A.C→CO2
B.Cl2→Cl-
C.CuO→Cu 
D.SO2→SO3
3、填空题  研究NO2、SO2 、CO等大气污染气体的处理具有重要意义。
(1)NO2可用水吸收,相应的化学反应方程式为      。利用反应6NO2+ 8NH3 7N2+12 H2O也可处理NO2。当转移1.2 mol电子时,消耗的NO2在标准状况下是      L。
7N2+12 H2O也可处理NO2。当转移1.2 mol电子时,消耗的NO2在标准状况下是      L。
(2)已知:2SO2(g)+O2(g) 2SO3(g)              ΔH="-196.6" kJ·mol-1
2SO3(g)              ΔH="-196.6" kJ·mol-1
2NO(g)+O2(g) 2NO2(g)              ΔH="-113.0" kJ·mol-1
2NO2(g)              ΔH="-113.0" kJ·mol-1
则反应NO2(g)+SO2(g) SO3(g)+NO(g)的ΔH=      kJ·mol-1。
SO3(g)+NO(g)的ΔH=      kJ·mol-1。
一定条件下,将NO2与SO2以体积比1:2置于密闭容器中发生上述反应,下列能说明反应达到平衡状态的是           。[91exam.org
a.体系压强保持不变
b.混合气体颜色保持不变
c.SO3和NO的体积比保持不变
d.每消耗1 mol SO3的同时生成1 molNO2
测得上述反应平衡时NO2与SO2体积比为1:6,则平衡常数K=         。
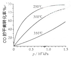
(3)CO可用于合成甲醇,反应方程式为CO(g)+2H2(g) CH3OH(g)。CO在不同温度下的平衡转化率与压强的关系如下图所示。该反应ΔH     0(填“>”或“ <”)。实际生产条件控制在250℃、1.3×104kPa左右,选择此压强的理由是       。
CH3OH(g)。CO在不同温度下的平衡转化率与压强的关系如下图所示。该反应ΔH     0(填“>”或“ <”)。实际生产条件控制在250℃、1.3×104kPa左右,选择此压强的理由是       。
4、简答题  1774年,瑞典化学家舍勒发现软锰矿(主要成分是MnO2)和浓盐酸混合加热能制取氯气:MnO2+4HCl(浓)MnCl2+Cl2↑+2H2O.现将23.2g软锰矿石(含MnO2的质量分数为75%)与足量浓盐酸完全反应(杂质不参加反应).计算:
(1)生成的Cl2的体积(标准状况).(2)参加反应的HCl的物质的量.
5、选择题  下列属于右边关系图中阴影部分的化学反应是
A.2Na+O2 Na2O2
Na2O2
B.2Na2O2+2CO2=2Na2CO3+O2
C.2KMnO4 K2MnO4+MnO2+O2↑
K2MnO4+MnO2+O2↑
D.Fe+H2SO4=FeSO4+H2↑