时间:2017-08-08 07:41:56
1、填空题 下图所示,是两位同学在做“验证力的平行四边形定则”的实验时得到的结果,则其中_______同学实验结果比较符合实验事实。
参考答案:甲
本题解析:本实验验证的目的是确定“实际值”和“理论值”的偏差大小。与橡皮条伸长方向一致的F’为“实际值”,而通过平行四边形定则作出的的对角线F为“理论值”,由于误差的存在,F必然与F’方向存在一定夹角,此夹角越小,误差越小,故甲图符合实际。
考点:本题考查实验“验证力的平行四边形定则”。
本题难度:一般
2、选择题 两个共点力,大小都是10?N,如果要使这两个力的合力也是10?N,这两个共点力之间的夹角应为
A.30°
B.45°
C.90°
D.120°
参考答案:D
本题解析:由平行四边形定则及几何知识可知,大小相同的两个力,当夹角为120°时,合力大小等于每一个分力的大小.
本题难度:一般
3、实验题 7分).小明同学在学完力的合成与分解后,想在家里做实验验证力的平行四边形定则.他从学校的实验室里借来两只弹簧测力计,按如下步骤进行实验.
A.在墙上贴一张白纸用来记录弹簧弹力的大小和方向
B.在一只弹簧测力计的下端悬挂一装满水的水杯, 记下静止时弹簧测力计的读数F.
C.将一根大约30 cm长的细线从杯带中穿过,再将细线两端拴在两只弹簧测力计的挂钩上.在靠近白纸处用手对称地拉开细线,使两只弹簧测力计的读数相等,在白纸上记下细线的方向和弹簧测力计的读数.如图甲所示.
D.在白纸上按一定标度作出两个弹簧测力计的弹力的图示(两弹力夹角为60度),如图乙所示,根据力的平行四边形定则可求出这两个力的合力F′.
(1)在步骤C中,弹簧测力计的读数为______N.
(2)在步骤D中,合力F′=________N.(保留2位有效数字)
(3)若_______________________________________,就可以验证力的平行四边形定则.
参考答案:(1)3.00N(2)5.2 (3)F′近似在竖直方向,且数值与F近似相等.
本题解析:在步骤C中,由力的图示,知道,弹簧测力计的读数为3.00N;在步骤D中,由平行四边形定则,F合=5.2N;若F′近似在竖直方向,且数值与F近似相等,就可以验证力的平行四边形定则。
考点:本题考查验证力的平行四边形定则。
本题难度:一般
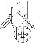
4、实验题 在“探究求合力的方法”的实验中,用图钉把橡皮筋的一端固定在板上的A点,在橡皮筋的另一端拴上两条细绳,细绳另一端系着绳套B、C(用来连接弹簧测力计)。其中A为固定橡皮筋的图钉,O为橡皮筋与细绳的结点,OB和OC为细绳。
(1)本实验用的弹簧测力计示数的单位为N,图中与B相连的弹簧测力计的示数为 N。
(2)在实验中,如果只将OB、OC绳换成橡皮筋,其他步 骤保持不变,那么实验结果 (选填“会”或“不会”)发生变化。
(3)本实验采用的科学方法是
A.理想实验法 B.控制变量法 C.等效替代法 D.建立物理模型法
参考答案:(1)3.6;(2)不会;(3)C
本题解析:(1)弹簧测力计的每一格代表0.2N,所以图中B的示数为3.6N.
(2)在实验中细线是否伸缩对实验结果没有影响,故换成橡皮筋可以同样完成实验,故实验结果不变;
(3)实验中两次要求效果相同,故实验采用了等效替代的方法,故C正确.
考点:探究求合力的方法
本题难度:一般
5、计算题 一个质量m=3kg的物体放在一长木板上,当木板一端抬起使它与水平方向成θ=30°时,物体正好可以沿板面匀速下滑。当木板水平放置时,用多大的水平拉力才能将物体拉动?(设物体受到的最大静摩擦力等于滑动摩擦力)
参考答案:
本题解析:在斜面方向上:
解得:
故受到的摩擦力为
考点:考查了摩擦力的计算
本题难度:一般