时间:2017-08-07 16:09:29
1、选择题 下列单位不属于国际单位制中基本单位的是
A.千克
B.牛
C.米
D.秒
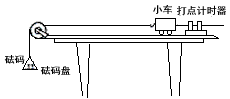
2、填空题 如图1所示是某同学探究加速度与力、质量关系的实验装置.将一辆小车放在长木板上,小车前端系上细绳,绳的另一端跨过定滑轮挂一小盘,盘里放适量的砝码,盘与砝码的总质量为m,车后端连一纸带,穿过打点计时器限位孔,小车运动时带动纸带运动,通过打点计时器记录下小车运动的情况.
该同学通过在小车上加减砝码改变小车的质量M,通过在盘中增减砝码改变小车所受的合力F,研究纸带算出小车运动的加速度a,几次实验数据记录如下表:
| 次 | 1 | 2 | 3 | 4 | 5 | 6 | 7 | 8 M/kg 1.00 1.00 1.00 1.00 1.25 1.50 2.00 2.50 F/N 0.25 0.50 0.75 1.00 1.00 1.00 1.00 1.00 a/(m?s-2) 0.25 0.51 0.74 0.99 0.80 0.67 0.50 0.40 |
3、选择题 某同学做“探究加速度与力、质量的关系”实验,如图所示是他正要释放小车时的情形,对此另一同学提出了实验应改进的几点建议:
①应把长木板的右端适当垫高,以平衡摩擦阻力;
②应调整滑轮高度使细绳与长木板表面平行;
③应将打点计时器接在直流电源上;
④应使小车离打点计时器稍远些.
其中合理的是( )
A.①②
B.①④
C.②③
D.①②④
4、实验题 “探究加速度与物体质量、物体受力的关系”的实验装置如图所示。
(1)在平衡小车与桌面之间摩擦力的过程中,打出了一条纸带如图所示。计时器打点的时间间隔为0.02s。从比较清晰的点起,每5个点取一个计数点,量出相邻计数点之间的距离。该小车的加速度a=_____________m/s2。(结果保留两位有效数字) 
(2)平衡摩擦力后,将5个相同的砝码都放在小车上。挂上砝码盘,然后每次从小车上取一个砝码添加到砝码盘中,测量小车的加速度。小车的加速度a与砝码盘中砝码总重力F的实验数据如下表: 
请根据实验数据作出a-F的关系图像。
(3)根据提供的试验数据作出的a-F图线不通过原点,请说明主要原因。__________________________
5、选择题 以下符合史实的是(?)
A.亚里士多德设计了理想斜面实验,论证了运动不需要力产生,也不需要力维持
B.牛顿设计了理想斜面实验,论证了运动不需要力产生,也不需要力维持
C.笛卡尔将斜面实验的结论合理外推,间接证明了自由落体运动是匀变速直线运动
D.伽利略将斜面实验的结论合理外推,间接证明了自由落体运动是匀变速直线运动