高考物理知识点《弹力》高频试题强化练习(2017年最新版)(九)

时间:2017-08-05 17:09:34

微信搜索关注"91考试网"公众号,领30元,获取事业编教师公务员等考试资料40G

1、实验题  实验室利用打点计时器研究小滑块的运动情况,打出如图所示的纸带,其中纸带B端与滑块相连接,计时器接在频率为50Hz的交流电源上。请回答下列问题:
小题1:纸带中AB段运动的时间为______________.
小题2:根据纸带请判断该滑块的运动属于_______(填“匀速”、“匀加速”、“匀减速”)直线运动.
小题3:从纸带可以测出AB两点间的距离为____________,滑块的加速度大小为___________(计算结果保留三位有效数字).


参考答案:
小题1:0.08s
小题2:匀减速
小题3:9.20cm? 5.00m/s2


本题解析:小题1:打点计时器打点频率为50HZ,所以打点周期为0.02s;AB间相隔四个点,所以相差0.08秒;
小题2:因为B端与滑块相连,所以由纸带可以看出小滑块越来越慢,所以滑块做匀减速直线运动;
小题3:根据AB两点的对应的位置可以读出AB间的距离为:10.20-1.00=9.20cm
根据逐差法可以求出滑块的加速度为:


本题难度:简单



2、实验题  在“测定匀变速直线运动的加速度”的实验中,计时器所用电源的频率为50Hz,图为一次实验得到的一条纸带,纸带上每相邻的两计数点间都有四个点未画出,按时间顺序取0、1、2、3、4、5六个计数点,用刻度尺量出1、2、3、4、5点到0点的距离如图所示(单位:cm)。则打计数点4时纸带的速度大小v4=________m/s,小车的加速度大小a=________m/s2。(保留三位有效数字)


参考答案:0.405? 0.756


本题解析:

0.756 m/s2


本题难度:简单



3、实验题  现要验证“当合外力一定时,物体运动的加速度与其质量成反比”这一物理规律。给定的器材如下:一倾角可以调节的长斜面(如图)、小车、计时器一个、米尺、天平、砝码、钩码若干。实验步骤如下(不考虑摩擦力的影响),在空格中填入适当的公式或文字。

(1)用天平测出小车的质量m
(2)让小车自斜面上方一固定点A1从静止下滑到斜面底端A2,记下所用的时间t
(3)用米尺测量A1与A2之间的距离s。则小车的加速度a=?
(4)用米尺测量A1相对于A2的高度h。则小车所受的合外力F?
(5)在小车中加钩码,用天平测出此时小车与钩码的总质量m,同时改变h,使mh的乘积不变。测出小车从A1静止开始下滑到斜面底端A2所需的时间t。请说出总质量与高度的乘积不变的原因______________________________。
(6)多次测量mt,以m为横坐标,t2为纵坐标,根据实验数据作图。如能得到一条____________线,则可验证“当合外力一定时,物体运动的加速度与其质量成反比”这一规律。


参考答案:③?;(2分)?④;(2分)
⑤为了使各次测量中,小车所受的合外力不变;(2分)
⑥过原点的直线


本题解析:解答:解:(3)小车做的是初速度为零的匀加速直线运动,根据运动规律:
s=at2,解得:a=
(4)小车所受的合外力是重力沿斜面的分力,大小为:mgsinθ,θ为斜面的夹角,
sinθ=,所以合力为:F=mgsinθ=
(5)本实验合外力一定,为了保证在各次的测量中小车所受合外力不变,小车总质量与高度的乘积不变
(6)用动能定理可解得:h=,所以h与成正比,所以根据实验数据作图。如能得到一条过原点的直线,则可验证“当合外力一定时,物体运动的加速度与其质量成反比”这一规律。
故答案为:(3),(4)(5)为了使各次测量中,小车所受的合外力不变?
(6)一条过原点的直线


本题难度:简单



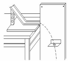
4、实验题  某同学为了验证平抛运动是竖直方向上的自由落体运动和水平方向上的匀速直线运动而设计了如图所示的实验。在

(1)在该实验中,应注意的事项有?(?)
A.应保持斜槽末端水平
B.应以斜槽水平末端为坐标原点建立坐标系
C.应尽量使用光滑的斜槽
D.小球每次都应从同一高度释放
(2)做该实验时,下列仪器中不需要的是?(?)
A.天平 ?B.秒表? C.刻度尺? D.重锤


参考答案:AD ??AB?


本题解析:斜槽末端应保持水平,使得小球飞出时的速度沿水平方向,做平抛运动,坐标原点的选取不需要以斜槽水平末端为坐标原点,斜槽的作用是让小球获得水平的初速度,实验过程中只要从相同的高度释放小球,获得相同的水平初速度即可,斜槽的粗超程度不影响实验,所以AD正确。实验过程中我们可以用重锤获得比较正确的竖直方向,在水平方向上用刻度尺量取相同间隔的几个点,然后对应出各个点的高度,利用公式获得时间,而计算过程中不牵涉质量,所以不需要天平和秒表。


本题难度:简单



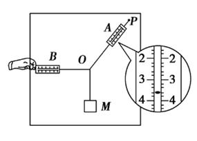
5、实验题  (4分).某同学用如图所示的实验装置来验证“力的平行四边形定则”。弹簧测力计A挂于固定点P,下端用细线挂一重物M。弹簧测力计B的一端用细线系于O点,手持另一端向左拉,使结点O静止在某位置。分别读出弹簧测力计A和B的示数,并在贴于竖直木板的白纸上记录O点的位置和拉线的方向。

(1)本实验用的弹簧测力计示数的单位为N,图中A的示数为_______N。(保留两位有效数字)
(2)下列不必要的实验要求是_________。(请填写选项前对应的字母)
A.应测量重物M所受的重力
B.弹簧测力计应在使用前校零
C.拉线方向应与木板平面平行
D.改变拉力,进行多次实验,每次都要使O点静止在同一位置


参考答案:(1)3.6?(2)D


本题解析:(1)根据弹簧秤读数规则可读得其示数为3.6N;(2)本实验中重物的重力充当合力,故需要测量,所以A对;弹簧秤应用前调零,以免测量错误 ,所以B对;为减小测量误差,减小阻力影响,实验时应保证用力与木板平行,所以C正确;实验只需记录各个分力及合力的方向和大小,与O点选取的位置无关,故D错误;所以本实验中不必要的实验要求是D。


本题难度:简单




首页 上页 8 9 10 下页 尾页 9/10/10
微信搜索关注"91考试网"公众号,领30元,获取公务员事业编教师考试资料40G
【省市县地区导航】【考试题库导航】
 ★ 高考省级导航 ★ 
全国 A安徽 B北京 C重庆 F福建 G广东 广西 甘肃 贵州 H河南 河北 湖南 湖北 黑龙江 海南 J江苏 江西 吉林 L辽宁 N内蒙古 宁夏 Q青海 S山东 山西 陕西 四川 上海 T天津 X新疆 西藏 Y云南 Z浙江
 ★ 高考信息汇总 ★ 
 ★ 高考历年真题 ★ 
 ★ 高考历年真题 ★ 
 ★ 高考题库 ★ 
 ★ 高考题库 ★ 

电脑版  |  手机版  |  返回顶部