时间:2017-08-05 16:48:11
1、计算题 如图所示,是一摩托车特技表演的轨道示意图。AB是距地面高为H的平台上的水平加速轨道,其长度为L,CD是半径为R的
竖直光滑圆弧轨道,CD轨道在最低点D与水平面相切,D点恰好又是紧接的竖直光滑圆形轨道的入口,该圆形轨道的出口与右侧水平减速轨道EF光滑相接。假设某总质量为m的摩托车(可视为质点)由A点从静止开始沿AB轨道做匀加速直线运动,到达B端时关闭发动机后水平飞出,刚好从C点沿切线方向进入圆弧轨道,运动过程中恰能通过圆形轨道的最高点P,最后从E点进入减速轨道直到停止。已知重力加速度为g,不计空气阻力。试求:
(1)摩托车在AB轨道上的加速度a;
(2)竖直圆形轨道的半径;
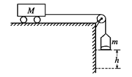
2、计算题 如图所示,在光滑水平面上,木块A的质量
,木块B的质量
,质量
的木块C置于足够长的木块B上,B、C之间用一轻弹簧相拴接并且接触面光滑。开始时B、C静止,A以
的初速度向右运动,与B碰撞后B的速度为3.5 m/s,碰撞时间极短。求:
①A、B碰撞后A的速度。
②弹簧第一次恢复原长时C的速度。
3、计算题 如图所示,质量为m的由绝缘材料制成的球与质量为M=19m的金属球并排悬挂,摆长相同,均为l。现将绝缘球拉至与竖直方向成θ=60°的位置自由释放,摆至最低点与金属球发生弹性碰撞。在平衡位置附近存在垂直于纸面的磁场,已知由于磁场的阻尼作用,金属球总能在下一次碰撞前停在最低点处,重力加速度为g。求:
(1)第一次碰撞前绝缘球的速度v0;
(2)第一次碰撞后绝缘球的速度v1;
(3)经过几次碰撞后绝缘球偏离竖直方向的最大角度将小于37°
(你可能用到的数学知识:sin37°=0.6,cos37°=0.8,0.812=0.656,0.813=0.531,0.814=0.430,0.815=0.349,0.816=0.282)
4、计算题 如图所示,皮带在轮O1O2带动下以速度v匀速转动,皮带与轮之间不打滑。皮带AB段长为L,皮带轮左端B处有一光滑小圆弧与一光滑斜面相连接。物体无初速放上皮带右端后,能在皮带带动下向左运动,并滑上斜面。己知物体与皮带间的动摩擦因数为μ,且
5、选择题 从同一高度以相同的速率抛出质量相等的三个小球,分别做竖直上抛运动,竖直下抛运动,平抛运动,则它们从抛出到落地的过程,不计空气阻力,以下说法正确的是( )
A.运动的时间相等
B.加速度相同
C.落地时的速度相同
D.落地时的动能不相等