时间:2017-03-05 17:00:03
1、选择题 一质量为m的小球,用长为L不可伸长的轻绳悬挂于O点,小球在水平力F的作用下从平衡位置P点缓慢移动到Q点,如图所示,则此过程中力F做的功为( )
A.FL
B.FLsinθ
C.mglcosθ
D.mgL(1-cosθ)
参考答案:对小球受力分析,受到重力、拉力F和绳子的拉力T,如图
根据共点力平衡条件,有
F=mgtanα,故F随着α的增大而不断变大,故F是变力;
对小球运动过程运用动能定理,得到
-mgL(1-cosα)+W=0
故拉力做的功等于mgL(1-cosθ)
故选D.
本题解析:
本题难度:一般
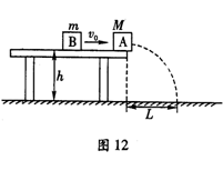
2、计算题 如图12所示质量为M的小物块A静止在离地面高h的水平桌面的边缘,质量为m的小物块B沿桌面向A运动并以速度v0与之发生正碰(碰撞时间极短)。碰后A离开桌面,其落点离出发点的水平距离为L。碰后B反向运动。已知B与桌面的动摩擦因数为μ,重力加速度为g,桌面足够长。求
(1)碰后A、B小物块分离的瞬间速率各是多少?
(2)碰后小物块B后退的最大距离是多少?
参考答案:(1)
?(2)
本题解析:本题考查碰撞前后的动量守恒问题,先根据平抛运动求出碰撞后的速度,再由动量守恒列式求解
(1)设:A、B碰后的瞬时速度大小分别是V和v,由动量守恒定律有:
……………………………………………………………………①
对于A的平抛运动,有:
L=V·T………………………………………………………………………………②
…………………………………………………………………………③
解得:
,………………………………………………………………④
……………………………………………………………………⑤
(2)设B球后退最大距离为S,则由动能定理,有
……………………………………………………………………⑥
…………………………………………………………⑦
本题难度:一般
3、选择题 从地面竖直上抛一个质量为m的小球,小球上升的最大高度为H,设上升过程中空气阻力Ff恒定.在小球从抛出到上升至最高处的过程中,下列说法正确的是( )
A.小球的机械能减少(mg+Ff)H
B.小球的动能减少mgH
C.小球的动能减少FfH
D.小球的机械能减少FfH
参考答案:A、小球机械能的减少量等于克服空气阻力做的功,W=FfH,故A错误,D正确;
B、由动能定理可知,小球动能的减少量△EK=(mg+Ff)H,故BC错误;
故选D.
本题解析:
本题难度:一般
4、填空题 质量为50kg的跳水运动
员从l0m高的跳台上以4m/s的速度起跳,当他人水时速度为12 m/s,则在起跳时,运动员做功?J,从起跳到入水的过程中克服空气阻力做功?J。(取 g=10m/s2)
参考答案:400?(3分)?
1800
本题解析:略
本题难度:简单
5、选择题 如图所示,虚线以a、b、c表示在O处某一点电荷的电场中的三个等势面,设两相邻等势面的间距相等.一电子射入电场后的运动轨迹如图中实线所示,其中1、2、3、4表示运动轨迹与等势面的一些交点.由此可以判定( )
A.电子在1、2、3、4四个位置处所具有的电势能与动能的总和一定相等
B.O处的点电荷一定带正电
C.a、b、c三个等势面的电势关系是φa>φb>φc
D.电子从位置1到2和从位置3到4的过程中电场力做功的大小关系W12=2W34
参考答案:A、电子在运动的整个过程中,只受电场力,故只有电场力做功,电场力做功等于电势能的减小量,总功又等于动能的增加量,故电势能和动能之和守恒,故A正确;
B、由于曲线运动的合力应该指向内侧,故从电子的运动轨迹可以看出,电子受到排斥力,故场源电荷是负电荷,故B错误;
C、由于场源电荷是负电荷,又由于沿着电场线电势降低,故结合负点电荷的电场线分布规律可以知道:φa<φb<φc,故C错误;
D、由于负点电荷的电场不是匀强电场,电场线越密的地方,等差等势面也越密.故从位置1到位置2电场力做的功大于从位置3到位置4电场力做功的两倍,故D错误;
故选:A
本题解析:
本题难度:一般