时间:2017-03-01 00:17:58
1、实验题 (10分 )如图所示是三个涉及纸带和打点计时器的实验装置图。
(1)三个实验装置中,摩擦力对实验结果没有影响的是?;
A.甲? B.乙? C.丙
(2)如果操作都正确,则通过装置?(选填“甲”、“乙”或者“丙”)可打出下图中的纸带?(选填“①”或者“②”)
(3)任选一条纸带求出e、f两点间的平均速度大小为?m/s。
2、选择题 如图所示,弹簧下端悬一滑轮,跨过滑轮的细线两端系有A、B两物体, mB=2kg,不计线、滑轮质量及摩擦,则A、B两重物在运动过程中,弹簧的示数可能为:(g=10m/s2)
A.40N? B.60N? C.80N? D.100N
3、实验题 某实验小组在实验室做“验证牛顿运动定律”实验:
小题1:甲同学在验证加速度和物体的质量的关系时,控制物体所受合外力不变。①实验中,描
图象而不描a-m图象的理是?。
②根据实验数据得到
图象如图所示,由此你得出的结论为?
?。
小题2:乙同学在保持小车质量不变的情况下,通过多次改变对小车的拉力,由实验数据作出的a一F图象如上图乙所示,图象与a轴的截距的物理意义是?
?;小车的质量为?kg。(保留两位有效数字)
4、实验题 在“探究小车速度随时间变化规律”的实验中:
小题1:电火花计时器正常工作时,其打点的周期取决于(?)?
A.交流电压的高低
B.交流电的频率
C.墨粉纸盘的大小
D.纸带的长度
小题2:下列操作中正确的有?。(填选项代号)
A.在释放小车前,小车要靠近打点计时器
B.打点计时器应放在长木板的有滑轮一端
C.应先接通电源,后释放小车
D.电火花计时器应使用低压交流电源
小题3:如图所示为同一打点计时器在四条水平运动的纸带上打出的点,四条纸带的a、b间的间距相等,则a、b间的平均速度最小的是哪一条? (?)
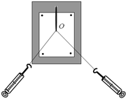
5、实验题 如下图所示,某实验小组在做“验证力的平行四边形定则”的实验时,在水平放置的木板上固定一张白纸,把橡皮条的一端固定在木板上,另一端栓两根细线。两个弹簧测力计分别钩住两细绳套,互成角度地拉橡皮条使之伸长,结点到达某一位置O时,需记下?的位置、两弹簧测力计的示数、描下?;再用一个弹簧测力计钩住细套把橡皮条拉长,使结点到达位置?、再记下弹簧测力计的示数、描下?。在白纸上按?标度画出用两弹簧测力计拉细线时力F1、F2的图示和用一个弹簧测力计拉细线时力F的图示。