时间:2017-02-28 23:46:15
1、简答题 如图,在距地面80米高的水平面上做匀加速直线运动的飞机上每隔1S依次放下a、b、c三物体,抛出点a、b和?b、c间距分别为45米和55米.分别落在水平地面上的A、B、C三处.求:
(1)飞机飞行的加速度.
(2)刚放下b物体时飞机的速度大小.
(3)b、c两物体落地点BC间距离.
2、填空题 以速度V0水平抛出一物体,当其竖直位移与水平位移相等时,此物体瞬时速度为______.
3、填空题 在研究“平抛物体的运动”的实验中,某同学只记录了A、B、C三个点的坐标如图所示(抛出点未记录),则小球运动的初速度为 m/s,小球运动到B点的速度为 m/s,(g=10m/s2,保留两位有效数字,若有根号直接保留).
4、计算题 从某高度处以v0="15" m/s的初速度水平抛出一物体,经时间t=2s落地,g取10m/s2,求:
(1)物体抛出时的高度y和物体抛出点与落地点间的水平距离x;
(2)物体落地时的速度大小v。
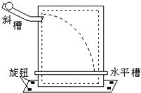
5、简答题 用如图所示的器材来研究平抛运动,下面所提供的器材中,是本次实验中要用到的是______
A.白纸?B.复写纸?C.电源?D.铅笔?E.秒表?F.刻度尺?G.小钢珠.