时间:2017-02-28 23:09:55
1、选择题 关于感应电动势大小的正确表述是
A.穿过某导体框的磁通量为零时,该线框中的感应电动势一定为零
B.穿过某导体框的磁通量越大,该线框中的感应电动势就一定越大
C.穿过某导体框的磁通量变化量越大,该线框中的感应电动势就一定越大
D.穿过某导体框的磁通量随时间的变化率越大,该线框中的感应电动势就一定越大
参考答案:D
本题解析:感应电动势的大小
,穿过某导体框的磁通量为零但是磁通量的变化不为零,那么线框中就会产生感应电动势,A错。由公式可知感应电动势的大小跟磁通量的变化率成正比,所以只有D正确
本题难度:简单
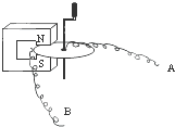
2、选择题 如图所示是在实验室制作的发电机及电动机两用演示实验装置,它有一个可绕固定转轴转动的铜盘,铜盘的一部分处在蹄形磁铁两极当中.实验时用导线A连接铜盘的中心,用导线B连接铜盘的边缘.若用外力摇手柄使得铜盘转动起来时,在AB两端会产生感应电动势;若将AB导线连接外电源,则铜盘会转动起来.下列说法正确的( )
A.外力摇手柄使得铜盘转动产生感应电动势的原因是铜盘盘面上无数个同心圆环中的磁通量发生了变化
B.若外力逆时针转动铜盘(俯视)时,A端是感应电动势的正极
C.A、B接电源时铜盘会转动起来,是由于铜盘沿径向排列的无数根铜条受到安培力使得铜盘转动
D.若要通电使铜盘顺时针转动(俯视)起来,A导线应连接外电源的正极
参考答案:A、外力摇手柄使得铜盘转动产生感应电动势的原因是铜盘盘面上无数个沿半径方向的铜棒在切割磁感线而产生的,故A错误;
? B、若外力逆时针转动铜盘(俯视)时,根据右手定则可得感应电流方向为B到A(电源内部),A端是感应电动势的正极.故B正确.
? C、A、B接电源时铜盘会转动起来,是由于铜盘沿径向排列的无数根铜条受到安培力使得铜盘转动,故C正确;
? D、若要通电使铜盘顺时针转动(俯视)起来,在通电导线受到安培力作用下运动的,根据左手定则,B导线应连接外电源的正极,D错误.
故选BC
本题解析:
本题难度:简单
3、选择题 衢州的地磁场水平分量为B1,竖直分量为B2,且B1>B2,在衢州一中科技楼实验室高二年级某同学自南向北以初速度v0水平抛出一根东西向放置的长为L的导体棒,在导体棒平行下落的过程中,当导体棒运动方向与水平方向成45°角时,导体棒两端的电势差为(? )
A.
(B1-B2)Lv0
B.(B1+B2)Lv0
C.(B1-B2)Lv0
D.
参考答案:C
本题解析:我国处于北半球,水平分量由南指北,导体棒在切割磁感线过程中,没有感应电流的生成,因此只受到重力作用,做平抛运动,水平方向的分速度不变,当导体棒与水平方向成45°角时,竖直速度与水平速度相同,竖直向下切割磁感线产生的感应电动势大小为
,东端电势高,在水平方向切割磁感线产生的感应电动势为
,由法拉第电磁感应定律可知西端电势较高,由此可知两部分产生的感应电动势为(B1-B2)Lv0故选C
点评:本题难度较大,主要是不能忽略竖直方向切割磁感线产生的感应电动势,在电源内阻电流从负极流向正极
本题难度:一般
4、选择题 如图3-5-16所示,用一根均匀导线做成的矩形导线框 abcd 放在匀强磁场中,线框平面与磁场方向垂直,ad、bc 边上跨放着均匀直导线 ef,各导线的电阻不可忽略.当将导线 ef 从 ab 附近匀速向右移动到 cd 附近的过程中(?)
图3-5-16
A.ef 受到的磁场力方向向右
B.ef 两端的电压始终不变
C.ef 中的电流先变小后变大
D.ef 中的电流先变大后变小
参考答案:C
本题解析:等效电路如图,随着棒 ef 的运动,整个电路的电阻先增大,当导线 ef 运动到 ad 中点即 Rae=Re时,电阻最大,然后减小,因此,ef 中的电流先变小后变大.
两端的电压 U="E-Ir" 先增大后减小.根据楞次定律知,ef 受到的磁场力阻碍其运动,方向应向左.
本题难度:简单
5、选择题 如图所示,下列情况下线圈中不能产生感应电流的是 ( )
A.I增加
B.线圈向右平动
C.线圈向下平动
D.线圈向左平动
参考答案:C
本题解析:当I增加时,则穿过线圈的磁通量增大,所以导致线圈中产生感应电流.故A错误;当线圈向右平动时,导致线圈中磁通量变小,则线圈中会出现感应电流,故B错误;当线圈向下平动时,穿过线圈的磁通量仍不变,则线圈中不会出现感应电流,故C正确;当线圈向左平动时,致线圈中磁通量变大,则线圈中会出现感应电流,故D错误
故选:C
点评:穿过线圈的磁通量,可以假想成穿过线圈磁感线的条数,则当条数发生变化时,必有感应电动势出现.
本题难度:简单