时间:2020-08-15 23:40:15
1、计算题 如图所示,高为h=1.25 m的平台上,覆盖一层薄冰,现有一质量为60 kg的滑雪爱好者,以5.0 m/s的初速度向平台边缘匀速滑去, (取重力加速度g=10 m/s2).求:
(1)滑雪者在空中运动的时间
(2)滑雪者着地点到平台边缘的水平距离
参考答案:0.5s,2.5m
本题解析:略
本题难度:简单
2、选择题 跳台滑雪是非常刺激、好看的项目,如图所示是简化后的跳台滑雪的雪道示意图.运动员从助滑雪道AB上由静止开始下滑,到达C点后水平飞出(不计空气阻力),以后落到F点(图中未画出).E是运动轨迹上的某一点,运动员在该点时的速度方向与轨道CD平行.设运动员从C到E、从E到F的运动时间分别为tCE和tEF,EG和斜面CD垂直,则( )
A.tCE大于tEF,CG等于GF
B.tCE等于tEF,CG小于GF
C.tCE大于tEF,CG小于GF
D.tCE等于tEF,CG等于GF
参考答案:建立坐标系:以C点为原点,CD为X轴,和CD垂直向上方向为Y轴,进行运动分解,Y轴方向做类竖直上抛运动,X轴方向做匀加速直线运动.
? 当运动员速度方向与轨道平行时,在Y轴方向上到达最高点,根据对称性,tCE=tEF
? 而X轴方向运动员做匀加速运动,tCE=tEF,CG<GF
故选B
本题解析:
本题难度:一般
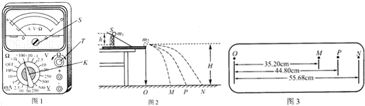
3、简答题 (1)用如图1所示的多用电表测量电阻,要用到选择开关K和两个部件S、T.请根据下列步骤完成电阻测量:
①旋动部件______,使指针对准电流的“0“刻线.②将K旋转到电阻挡“×l00“的位置.
③将插入“十“、“-“插孔的表笔短接,旋动部件______,使指针对准电阻的______?(填“0刻线“或“∞刻线“).
④将两表笔分别与侍测电阻相接,发现指针偏转角度过小.为了得到比较准确的测量结果,请从下列选项中挑出合理的步骤,并按______的顺序避行操作,再完成读数测量.
A.将K旋转到电阻挡“×1k“的位置?B.将K旋转到电阻挡“×10“的位置
C.将两表笔的金属部分分别与被测电阻的两恨引线相接
D.将两表笔短接,旋动合适部件,对电表进行校准
(2)如图2,用“碰撞实验器“可以验证动量守恒定律,即研究两个小球在轨道水平部分碰撞前后的动量关系.
①实验中,直接测定小球碰撞前后的速度是不容易的.但是,可以通过仅测量______?(填选项前的符号),间接地解决这个问题.
A.小球开始释放高度h?B.小球抛出点距地面的高度H
C.小球做平抛运动的射程
②图2中O点是小球抛出点在地面上的垂直投影.实验时,先让入射球ml多次从斜轨上S位置静止释放,找到其平均落地点的位置P,测量平抛射程OP.
然后,把被碰小球m2静置于轨道的水平部分,再将入射球ml从斜轨上S位置静止释放,与小球m2相碰,并多次重复.接下来要完成的必要步骤是______.(填选项前的符号)
A.用天平测量两个小球的质量ml、m2B.测量小球m1开始释放高度h?C.测量抛出点距地面的高度H
D.分别找到m1、m2相碰后平均落地点的位置M、N?E.测量平抛射程OM,ON
③若两球相碰前后的动量守恒,其表达式可表示为______?(用②中测量的量表示);若碰撞是弹性碰撞,那么还应满足的表达式为______?(用②中测量的量表示).
④经测定,m1=45.0g,m2=7.5g,小球落地点的平均位置距O点的距离如图3所示.碰撞前、后m1的动量分别为p1与p1?,则p1:p1?=______:11;若碰撞结束时m2的动量为p2?,则p1?:p2?=11:______.
实验结果表明,碰撞前、后总动量的比值
| p1 p1′+p2′ |

参考答案:(1)首先要对表盘机械校零,所以旋动部件是S.接着是欧姆调零,将“十“、“-“插孔的表笔短接,旋动部件T,让表盘指针指在最右端零刻度处.当两表笔分别与待测电阻相接,发现指针偏转角度过小,为了得到比较准确的测量结果,必须将指针在中间刻度附近,所以要将倍率调大.原因是指针偏转小,则说明刻度盘值大,现在要指针偏大即刻度盘值要小,则只有调大倍率才会实现.所以正确顺序ADC
?故答案为:①S;? ③T;?0刻线;? ④ADC.
(2)验证动量守恒定律实验中,即研究两个小球在轨道水平部分碰撞前后的动量关系,直接测定小球碰撞前后的速度是不容易的,但是通过落地高度不变情况下水平射程来体现速度.故答案是C
? 实验时,先让入射球ml多次从斜轨上S位置静止释放,找到其平均落地点的位置P,测量平抛射程OP.然后,把被碰小球m2静置于轨道的水平部分,再将入射球ml从斜轨上S位置静止释放,与小球m2相碰,并多次重复.测量平均落点的位置,找到平抛运动的水平位移,因此步骤中D、E是必须的,而且D要在E之前.至于用天平秤质量先后均可以.所以答案是ADE或DEA或DAE
?设落地时间为t,则v1=OPt,v′1=OMt,v′2=ONt;
而动量守恒的表达式是m1?v1=?m1v′1+m2v′2
动能守恒的表达式是12m1v21=12?m1v′21+12m2v′22
所以若两球相碰前后的动量守恒,则m1?OM+m2?ON=m1?OP?成立
若碰撞是弹性碰撞,动能是守恒的,则有m1?OM2+m2?ON2=m1?OP2成立
碰撞前后m1动量之比:P1P′1=OPOM=44.835.2=1411
P′1P′2=m1?OMm2?ON=45.0×35.27.5×55.68=112.9
P1P′1+P′2=m1?OPm1?OM+?m2?ON=45×44.845×35.2+7.5×55.08=1.01
发生弹性碰撞时,被碰小球获得速度最大,根据
动量守恒的表达式是m1?v1=?m1v′1+m2v′2
动能守恒的表达式是12m1v21=12?m1v′21+12m2v′22
联立解得v′2=2m1m1+m2v1,因此最大射程为S=2×4545+7.5×44.8cm=76.8cm
?故答案为:①C; ②ADE或DEA或DAE;③m1?OM+m2?ON=m1OP;? m1?OM2+m2?ON2=m1OP2
? ④14;?2.9;?1.01;? ⑤76.8.
本题解析:
本题难度:一般
4、选择题 一个质量为m的物体,从距竖直墙L处以初速度v0水平抛出。不计空气阻力,则该物体撞到墙上的时间由下列哪组物理量决定
[? ]
A.重力加速度g
B.初速度v0
C.水平距离L
D.初速度v0和水平距离L
参考答案:D
本题解析:
本题难度:简单
5、填空题 如图,子弹从O点水平射出,初速度为v0,穿过两块竖直放置的薄挡板A和B,留下弹孔C和D,测量C和D的高度差为0.1 m,两板间距4 m,A板离O点的水平距离为14 m,不计挡板和空气的阻力,则v0="________" m/s (g=10 m/s2)
参考答案:80
本题解析:假设子弹穿过A板的时间为t1,穿过B板的时间为t2,根据平抛运动的规律有:
穿过两板的高度差:

联立以上各式解得:v0=80m/s
本题难度:简单