时间:2020-08-09 23:33:11
1、计算题 如图所示,水平面上有两根相距0.5m的足够长的平行金属导轨MN和PQ,它们的电阻可忽略不计,在M和P之间接有阻值为R的定值电阻.导体棒ab长l=0.5m,其电阻为r,与导轨接触良好.整个装置处于方向竖直向上的匀强磁场中,磁感应强度B=0.4T.现使ab以v=10m/s的速度向右做匀速运动. 
(1)ab中的感应电动势多大?(4分)
(2)若定值电阻R=3.0Ω,导体棒的电阻r=1.0Ω,则电路中的电流多大?(4分)
2、选择题 图中两条平行虚线之间存在匀强磁场,虚线间的距离为l,磁场方向垂直纸面向里,abcd是位于纸面内的梯形线圈,ad与bc间的距离也为l.t=0时刻,bc边与磁场区域边界重合(如图).现令线圈以恒定的速度v沿垂直于磁场区域边界的方向穿过磁场区域.取沿a→b→c→d→a的感应电流为正,则在线圈穿越磁场区域的过程中,感应电流I随时间t变化的图线可能是(? )
3、选择题 一个位于竖直平面内的正方形闭合导体框,其上、下两条边水平,从静止开始下落一定高度后,垂直穿越一个磁感线沿水平方向且与导体框平面垂直的有界匀强磁场区域,该区域上、下边界也水平。下图是自导体框开始下落到完全穿越磁场区域的过程中,导体框中的感应电流随时间变化的图像,其中肯定与实际不相符的是(忽略空气阻力的影响,导体框始终在竖直平面内平动)
[? ]
A.
B.
C.
D.
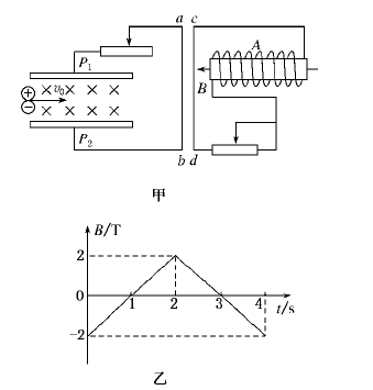
4、选择题 等离子气流由左方连续以v0射入P1和P2两板间的匀强磁场中,ab直导线与P1、P2相连接,线圈A与直导线cd连接.线圈A内有随图乙所示的变化磁场.且磁场B的正方向规定为向左,如图甲所示,则下列叙述正确的是(? )
A.0~1 s内ab、cd导线互相排斥
B.1~2 s内ab、cd导线互相吸引
C.2~3 s内ab、cd导线互相吸引
D.3~4 s内ab、cd导线互相排斥
5、选择题 下列几种说法中正确的是( )
A.线圈中磁通量变化越大,线圈中产生的感应电动势一定越大
B.线圈中磁通量越大,产生的感应电动势一定越大
C.线圈放在磁场越强的位置,产生的感应电动势一定越大
D.线圈中磁通量变化越快,线圈中产生的感应电动势越大