时间:2020-08-09 22:30:49
1、简答题 有一电阻值约为20Ω、额定功率约为7.2W的电阻,现准备用伏安法测量多组数据,借助I-U图象较准确地测其阻值,实验室提供的器材有:
A.电流表(量程0-3A,内阻约0.1Ω)
B.电流表(量程0-0.6A,内阻约0.5Ω)
C.电压表(量程0-3V,内阻约3kΩ)
D.电压表(量程0-15V,内阻约15kΩ)
E.滑动变阻器(阻值0-10Ω,额定电流2A)
F.滑动变阻器(阻值0-1KΩ,额定电流2A)
G.直流电源(电动势12V,内阻不计)
H.开关及导线若干
①要使测量误差尽量的小,电流表应选择______,电压表应选择______,滑动变阻器应选择______.(填序号字母)
②请在图中按实验要求完成测量电路的实物连接.
参考答案:(1)电阻值约为20Ω、额定功率约为7.2W,故待测电阻的额定电流为:I=
本题解析:
本题难度:一般
2、实验题 某同学对实验室的一个多用电表中的电池进行更换时发现,里面除了一节1.5 V的干电池外,还有一个方形的电池(层叠电池).为了测定该电池的电动势和内电阻,实验室中提供有下列器材:
A.电流表G(滿偏电流10 mA,内阻为10 Ω)
B.电流表A(0 ~ 0.6 A ~ 3 A,内阻未知)?
C.滑动变阻器R0(0 ~ 100 Ω,1 A)?
D.定值电阻R(阻值990 Ω)
E.开关与导线若干 
(1)该同学根据现有的实验器材,设计了如图甲所示的电路,请你按照电路图在乙图上完成实物连线.
(2)丙图为该同学根据上述设计的实验电路利用测出的数据绘出的I1 - I2图线(I1为电流表G的示数,I2为电流表A的示数),则由图线可以得到被测电池的电动势E = V,内阻r = ?Ω.(结果保留两位有效数字)
参考答案:(1)请你按照电路图在乙图上完成实物连线.
(2)电动势E = 9.0 V,内阻r = ?10? Ω.?(结果保留两位有效数字)
本题解析:(1)略(2)延长倾斜直线,当I2=0时,
,
根据图像的特殊点代入公式求解
本题难度:一般
3、实验题 (12分)在“用电流表和电压表测定电池的电动势和内电阻”的实验中.
(1)备有如下器材:
A.干电池1节;? B.滑动变阻器(0~20Ω);
C.滑动变阻器(0~1kΩ);? D.电压表(0~3V);
E.电流表(0~0.6A);? F.电流表(0~3A);
G.开关、导线若干.
其中滑动变阻器应选______,电流表应选________.(只填器材前的序号)
(2)为了最大限度地减小实验误差,请在虚线框中画出该实验最合理的电路图.
| ? | 1 | 2 | 3 | 4 | 5 | 6 |
| I(A) | 0.10 | 0.15 | 0.20 | 0.25 | 0.30 | 0.40 |
| U(V) | 1.32 | 1.26 | 1.18 | 1.13 | 1.04 | 0.93 |
?
参考答案:(1) B? E? ( 每空2分)
(2)每图2分
(3)? 1.45? 1.30? ( 每空2分)
本题解析:(1)本实验不要求多测量几组数据,所以滑动变阻器采用限流连接即可,选择阻值与电路中阻值相当便于控制,因此滑动变阻器选择B,电路中的电流也较小,选择0.6A量程即可(2)图线与纵坐标的交点为电源电动势,为1.45V,图线的斜率表示电源内阻
点评:本题难度较小,测量电源电动势和内阻的实验原理根据的是闭合电路欧姆定律,得到两组路端电压和电流的值即可测定电动势和内阻大小
本题难度:一般
4、选择题 用电流表和电压表测量电阻的电路如图所示,其中Rx为待测电阻.由于电表内阻对测量结果的影响,下列说法中正确的是( )
A.电流表的示数小于通过Rx的电流
B.电流表的示数大于通过Rx的电流
C.电压表的示数小于Rx两端的电压
D.电压表的示数大于Rx两端的电压
参考答案:D
本题解析:
本题难度:简单
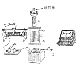
5、实验题 在研究电磁感应现象的实验中,所需的实验器材如图所示。现已用导线连接了部分实验电路。
小题1:请画实线作为导线从箭头1和2处连接其余部分电路;
小题2:实验时,将L1插入线圈L2中,合上开关瞬间,观察到检流计的指针发生偏转,这个现象揭示的规律是__________________________
小题3:?某同学设想使线圈L1中电流逆时针(俯视)流动,线圈L2中电流顺时针(俯视)流动,可行的实验操作是
A.抽出线圈L1
B.插人软铁棒
C.使变阻器滑片P左移
D.断开开关
参考答案:
小题1:如图所示
小题2:穿过闭合电路中的磁通量发生变化,闭合电路中就会产生感应电流
小题3:BC
本题解析:分析:(1)由该实验的原理可知小线圈应与电源相连,大线圈与电流表相连;
(2)检流计指针发生偏转说明电路中产生了电流,根据电路中发生的变化可知实验所揭示的规律;
(3)由题意可知,感应电流与原电流相反,由安培定则可知磁场方向也应相反,则由楞次定律可知可行的方法.
解答:解:
(1)本实验中L1与电源相连,通过调节滑动变阻器使L2中的磁通量发生变化,从而使L2产生电磁感应线象,故L2应与检流计相连;
答案如图:
(2)指针发生偏转说明电路中有电流产生,产生的原因是闭合回路中磁通量发生了变化;故结论为:闭合电路中磁通量发生变化时,闭合电路中产生感应电流.
(3)感应电流的方向与原电流方向相反,则它们的磁场也一定相反,由楞次定律可知,原磁场应增强,故可以加入铁芯或使变阻器滑片P左移;
故答案为:B?C;
故答案为:(2)闭合电路中磁通量发生变化时,闭合电路中产生感应电流;(3)BC.
点评:实验题应根据实验的原理进行分析,注意结合实验的现象得出实验的结论,同时根据实验的原理记忆实验中的仪器及误差分差.
本题难度:简单