时间:2019-12-13 02:03:52
1、实验题 (8分)测一个阻值约为25 kΩ的电阻,备有下列器材:
A.电流表(量程100 μA,内阻2 kΩ) E.直流稳压电源(电动势15 V,允许最大电流1 A)
B.电流表(量程500 μA,内阻300 Ω) F.滑动变阻器(最大电阻1 kΩ,额定功率1 W)
C.电压表(量程10 V,内阻100 kΩ) G.电键、导线若干
D.电压表 (量程50 V,内阻500 kΩ)
(1)电流表应选________,电压表应选________.
(2)画出测量Rx的原理图.
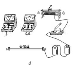
2、实验题 测金属电阻率实验
①测长度时,金属丝的起点、终点位置如图(a),则长度为: cm
②用螺旋测微器测金属丝直径,示数如图(b),则直径为: mm
③用多用表“Ω×1”挡估测其电阻,示数如图(c),则阻值为: Ω
④在图d中完成实物连线
⑤闭合开关前应将滑动变阻器的滑片P移至最 (填“左”或“右”)端。

3、实验题 (9分)物理学习小组在测定某电源的电动势E和内阻r时,找来一段电阻率较大的粗细均匀的电阻丝ab替代滑动变阻器,设计了如图甲所示的实验,其中R0是阻值为2Ω的保护电阻,滑动片P与电阻丝始终接触良好。实验时闭合开关,调节P的位置,测得aP的长度x和对应的电压U、电流I数据,并分别绘制了如图乙所示的U I图象和如图丙所示的
x图象。

图乙 图丙
(1)由图乙可得电源的电动势E=________V;内阻r=________Ω。
(2)根据测得的直径可以算得电阻丝的横截面积S=0.12×10 6m2,利用图丙可求得电阻丝的电阻率ρ为________Ω·m,图丙中图象截距的物理意义是 。(以上结果均保留两位有效数字)
(3)此实验用了图象法处理数据优点是直观,但是不能减少或者消除 (填“偶然误差”或“系统误差”)。
4、实验题 如图(d)所示的实验电路。
①为了粗测“2.5V 0.6W”小电珠的电阻,必须将开关 断开。把多用电表选择开关旋转到“× Ω”挡;进行欧姆调零后,将红、黑表笔分别与小电珠两极相接触,测得小电珠的阻值如图(e)所示,其读数为
。
②将选择开关置于直流电压档,闭合S1、S2,此时测得的是 两端电压。
③为了测量小电珠的电流,应将选择开关置于直流电流档,闭合开关 ,断开开关 ,然后将红、黑表笔分别接S2的左、右接线柱。
5、实验题 某实验小组要精确测定额定电压为
的
灯正常工作时的电阻,已知该灯正常工作时电阻大约
,电学符号与小灯泡电学符号相同.现有的器材规格如下:
A.待测
灯
B.直流毫安表
(量程
,内阻约为
)
C.直流毫安表
(量程
,内阻约为
)
D.直流电压表
(量程
,内阻约为
)
E.直流电压表
(量程
,内阻约为
)
F.直流电源(输出电压
,内阻很小)
G.滑动变阻器
(阻值范围
,允许最大电流
)
H.滑动变阻器
(阻值范围
,允许最大电流
)
I.开关一个、导线若干
①为了尽可能精确测定
灯正常工作时的电阻,所选电流表为___(填“
”或“
”),所选电压表为____(填“
”或“
”);滑动变阻器应选 (填“
”或“
”)
②请根据实验原理图甲,完成图乙未完成的实物连接;
③闭合开关
后,某次测量时电压表的示数如丙所示,该示数为_________
.