时间:2019-07-11 04:00:25
1、选择题 下列物理量中,属于矢量的是
A.位移
B.路程
C.质量
D.时间
参考答案:A
本题解析:矢量是即有大小又有方向,相加是遵循平行四边形定则的物理量,位移是矢量,所以选项A都是矢量.
标量是只有大小,没有方向的物理量,如路程、时间、质量等,所以A选项正确.
故选:A.
本题难度:简单
2、选择题 关于力,下列说法中正确的是( ? )
A.力是使物体运动状态发生改变的原因
B.力是维持物体运动状态的原因
C.力是改变物体惯性的原因
D.力是使物体产生加速度的原因
参考答案:AD
本题解析:
本题难度:一般
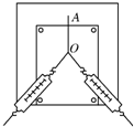
3、实验题 某同学在家中尝试验证平行四边形定则,他找到三条相同的橡皮筋(遵循胡克定律)和若干小事物,以及刻度尺、三角板、铅笔、细绳、白纸、钉子,设计了如下实验:将两条橡皮筋的一端分别固定在墙上的两个钉子A、B上,另一端与第二条橡皮筋连接,结点为O,将第三条橡皮筋的另一端通过细绳挂一重物。
(1)为完成实验,下述操作中必需的是__________。
A.测量细绳的长度
B.测量橡皮筋的原长
C.测量悬挂重物后橡皮筋的长度
D.记录悬挂重物后结点O的位置
(2)钉子位置固定,欲利用现有器材,改变条件再次实验证,可采用的方法是__________。
参考答案:(1)bcd
(2)更换不同的小重物
本题解析:
本题难度:一般
4、选择题 在“探究力的平行四边形定则”的实验中,橡皮条的一端固定在木板上,用两个弹簧测力计把橡皮条的另一端拉到某一确定的O点,则下列操作中正确的是( )
A.在同一次实验中,O点的位置可以随意变动
B.画力的图示时,表示力的线段长度应与细线长度相等或成比例
C.实验中,不仅需要记下弹簧测力计的读数,还需要记下拉力的方向
D.在用两个弹簧测力计拉橡皮条时,两细绳间的夹角应尽量大些
参考答案:C
本题解析:
本题难度:简单
5、实验题 某同学在家中尝试验证平行四边形定则,他找到三条相同的橡皮筋(遵循胡克定律)和若干小重物以及刻度尺、三角板、铅笔、细绳、白纸、钉子,设计了如下实验:将两条橡皮筋的一端分别挂在墙上的两个钉子A、B上,另一端与第三条橡皮筋连接,结点为O,将第三条橡皮筋的另一端通过细绳挂一重物。
(1)为完成该实验,下述操作中必需的是_____________。
a测量细绳的长度
b测量橡皮筋的原长
c测量悬挂重物后橡皮筋的长度
d记录悬挂重物后结点O的位置
(2)钉子位置固定,欲利用现有器材,改变条件再次验证,可采用的方法是_____________。
参考答案:(1)bcd
(2)更换不同的小重物,若没有“钉子位置固定”的话,改变A、B钉子的位置亦可
本题解析:
本题难度:一般