时间:2019-07-02 23:35:27
1、选择题 如图所示,在直线XY的右边磁场方向垂直纸面向外,左边磁场方向垂直纸面向里,两边磁场强度大小相等,有半径一定,顶角为θ的两个扇形导体框交叉在一起组成框架abcd,在该磁场中以XY上的一点o为中心以恒定角速度按顺时针方向在垂直于磁感线的平面内旋转半周,则在框架内( )
A.始终无感应电流产生
B.始终有感应电流产生,方向沿abocda
C.某段时间内有感应电流产生,方向沿abocda
D.某段时间内有感应电流产生,方向沿cbaodc
参考答案:当两个扇形导体框分别处于左右两个磁场中时,穿过线框的磁通量不变,没有感应电流产生;当线框通过两个磁场的交界处时,线框的四个直边都切割磁感线产生感应电动势,而产生感应电流,由右手定则判断得知,此时感应电流方向为:abocda.故C正确.
故选C
本题解析:
本题难度:简单
2、填空题 如图所示,当条形磁铁水平向右远离螺线管时,通过电流表G的电流方向为______(答a向b或b向a),螺线管受到磁铁给它向______的作用力.
参考答案:当条形磁铁水平向右远离螺线管时,导致线圈的磁通量减小时,感应电流的磁场与它原来方向相同,再由右手螺旋定则可得,感应电流的方向.即螺线管下端相当于电源负极,上端是正极.因此通过电流表G的电流方向:a向b;
而此时通电螺线管,周围存在磁场,由同名磁极相斥,异名磁极相吸可得,它们之间相互吸引.
故答案为:a向b;右
本题解析:
本题难度:一般
3、选择题 如图所示,软铁环上绕有M、N两个线圈,线圈M与电源、开关S相连,线圈N与电阻R连接成闭合电路。开关S闭合、断开瞬间,关于通过电阻R的电流方向,下列判断正确的是?
A.闭合S的瞬间,电流方向为a到b
B.闭合S的瞬间,电流方向为b到a
C.断开S的瞬间,电流方向为a到b
D.断开S的瞬间,电流方向为b到a
参考答案:AD
本题解析:当闭合S瞬间,M端为螺线管N极,穿过右边线圈的磁通量增大,原磁场方向向下,由法拉第电磁感应定律可知电流方向由a到b,同理可判断AD对;
本题难度:简单
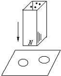
4、选择题 如图所示,光滑的水平桌面上放着两个彼此绝缘、靠得很近的完全相同的闭合的环形金属圈,原来均静止.当一条形磁铁的N极由上至下向着它们运动时,a、b两线圈将( )
A.均静止不动
B.彼此靠近
C.相互远离
D.都向上跳起
参考答案:当一条形磁铁的N极由上至下向着它们运动时,通过环形金属圈的磁通量要增加,引起的机械效果要阻碍磁通量增加,则a、b两线圈相互远离.故C正确,A、B、D错误.
故选C.
本题解析:
本题难度:简单
5、选择题 如图所示,一个水平放置的矩形闭合线框abcd,在水平放置的细长磁铁S极中心附近落下,下落过程中线框保持水平且bc边在纸外,ad边在纸内.它由位置甲经乙到丙,且甲、丙都靠近乙。在这下落过程中,线框中感应电流的方向为(?)
A.abcda
B.adcba
C.从位置甲到乙时,abcda,从位置乙到丙时adcba
D.从位置甲到乙时,adcba,从位置乙到丙时abcda
参考答案:B
本题解析:从甲到乙,原磁场方向竖直向下,磁通量减小,感应电流的磁场竖直向下,由右手定则可知感应电流为adcba,同理由乙到丙,原磁场方向竖直向上,磁通量增大,感应电流的磁场竖直向下,方向为adcba,B对;
点评:难度较小,本题直接用楞次定律判断电磁感应现象中磁场的变化,掌握判断步骤思路就会变得清晰
本题难度:简单