高中物理知识点大全《匀变速直线运动》试题特训(2019年最新版)(十)

时间:2019-07-02 23:31:36

微信搜索关注"91考试网"公众号,领30元,获取事业编教师公务员等考试资料40G

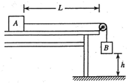
1、简答题  如图所示,质量mA=1.Okg的物块A放在水平固定桌面上,由跨过光滑小定滑轮的轻绳与质量mB=1.5kg的物块B相连.轻绳拉直时用手托住物块B,使其静止在距地面h=0.6m的高度处,此时物块A与定滑轮相距L.已知物块A与桌面间的动摩擦因数μ=0.25,g取1Om/s2.现释放物块B,物块B向下运动.
(1)求物块B着地前加速度的大小及轻绳对它拉力的大小.
(2)股物块B着地后立即停止运动,要求物块A不撞到定滑轮,则L至少多长?91考试网


参考答案:(1)设加速度大小为a,轻绳对B拉力的大小为F,根据牛顿第二定律?有
对A:F-μmAg=mAa?①
对B:mBg-F=mBa?②
①②联立代入数据得:a=5m/s2?③
?F=7.5N?
(2)设物块B着地前的速率为v,根据运动学公式v2=2ax?有
对A:v2=2ah? ④
块B着地后,对B由牛顿第二定律得:μmAg=mAa′⑤
根据运动学公式v2-v02=2ax得:
0-v2=2(-a′)x?⑥
③④⑤⑥联立解得x=1.2m?h=0.6m
由题意知:L≥h+x=1.2+0.6m=1.8m?
所以,L至少1.8m?
答:(1)求物块B着地前加速度的大小为5m/s2,轻绳对它拉力的大小为7.5N.
(2)股物块B着地后立即停止运动,要求物块A不撞到定滑轮,则L至少为1.8m.


本题解析:


本题难度:一般



2、计算题  甲车以20m/s行驶,司机发现在同一平直公路上前方500m处乙车以10m/s同向匀速行驶,为避免撞车,甲车司机立即刹车,求:甲车司机刹车时a的最小值。


参考答案:-0.1m/s2


本题解析:


本题难度:一般



3、简答题  如图所示,一个质量m=20kg的物体放在光滑水平地面上.对物体施加一个F=10N的水平拉力,使物体由静止开始做匀加速直线运动.求:
(1)物体在4.0s时间内的位移大小;
(2)拉力F在4.0s时间内所做的功.91考试网


参考答案:(1)根据牛顿第二定律?F=ma
解得物体的加速度
a=Fm=1020m/s2=0.5?m/s2?
根据位移公式,物体开始运动后t=4s内通过的位移,
则x=12at2=12×0.5×42m=4m?
(2)根据功的表达式,则有W=Fx=10×4J=40J.
答:(1)物体在4.0s时间内的位移大小4m;
(2)拉力F在4.0s时间内所做的功40J.


本题解析:


本题难度:一般



4、简答题  A、B两小球同时从距地面高为h=20m处的同一点抛出,初速度大小均为v0=15m/s,A球竖直向上抛出,B球水平抛出,空气阻力不计,重力加速度取g=10m/s2.
求:(1)A球经多长时间落地?
(2)B球落地时,A、B两球间的距离是多少?


参考答案:(1)选向下为正方向,则 h=20m;v0=-15m/s;g=10m/s2
对A球:h=v0t+12gt2
代入解得:t=4s?
(2)对B球做平抛运动,则有:
? 水平方向?x=v0t?
? 竖直方向?y=12gt2
将y=20m;v0=15m/s?
代入解得:t=2s,x=30m?
此时对A球:选向上为正方向 则:v0=15m/s;g=-10m/s2;t=2s
则s=v0t+12gt2,
代入解得:s=10m?
则B球落地时,小球A离地面高度为y=s+h=30m;?
故此时A、B球之间的距离L=


本题解析:


本题难度:一般



5、简答题  足球以8m/s的速度飞来,分别求出以下两种情况下足球在这段时间内平均加速度的大小和方向?
(1)运动员在0.2s的时间内将足球停下.
(2)运动员在0.2s的时间内将飞来的足球以12m/s的速度反向踢出.


参考答案:规定原速度方向为正方向
(1)a=vt-v0t
a=0-80.2=-40m/s2
则足球加速度大小为40m/s2,方向与原速度方向相反
(2)a=vt-v0ta=-12-80.2=-100m/s2
则足球加速度大小为100?m/s2,方向与原速度方向相反
答:(1)运动员在0.2s的时间内将足球停下,此时平均速大小为40m/s,方向与原来速度方向相反.
(2)运动员在0.2s的时间内将飞来的足球以12m/s的速度反向踢出,此时平均速度大小为100m/s,方向与原来的速度方向相反.


本题解析:


本题难度:一般



Seize opportunity by the beard, for it is bald behind. 见了机会,就要抓他的胡子,因为他后面没有头发.

首页 上页 9 10 下页 尾页 10/10/10
微信搜索关注"91考试网"公众号,领30元,获取公务员事业编教师考试资料40G
【省市县地区导航】【考试题库导航】
 ★ 高考省级导航 ★ 
全国 A安徽 B北京 C重庆 F福建 G广东 广西 甘肃 贵州 H河南 河北 湖南 湖北 黑龙江 海南 J江苏 江西 吉林 L辽宁 N内蒙古 宁夏 Q青海 S山东 山西 陕西 四川 上海 T天津 X新疆 西藏 Y云南 Z浙江
 ★ 高考信息汇总 ★ 
 ★ 高考历年真题 ★ 
 ★ 高考历年真题 ★ 
 ★ 高考题库 ★ 
 ★ 高考题库 ★ 

电脑版  |  手机版  |  返回顶部