时间:2019-06-29 06:04:38
1、实验题 (4分)如图是通过重物自由下落的实验验证机械能守恒定律。关于本实验下列说法正确的是?
A.从实验装置看,该实验可用4-6伏的直流电源
B.用公式
时,要求所选择的纸带第一、二两点间距应接近2mm
C.本实验中不需要测量重物的质量
D.测纸带上某点的速度时,可先测出该点到起点间的时间间隔,利用公式
计算
2、填空题 某同学用图甲所示的实验装置研究小车在斜面上的匀变速直线运动。实验步骤如下:
a.安装好实验器材,将打点计时器接到频率为50Hz的交流电源上。
b.接通电源后,让拖着纸带的小车沿斜面向下运动,重复几次。选出一条点迹清晰的纸带,舍去开始密集的点迹,从便于测量的点开始,每2个打点间隔取一个计数点,如图乙中0、1、2……8点所示。
c.用最小刻度是毫米的刻度尺测量各计数点的刻度数值,分别记作x0、x1、x2……x8。
d.分别计算出打点计时器打下计数点1、2、3……7时小车的瞬时速度v1、v2、v3……v7。
e.以v为纵坐标、t为横坐标,标出v与对应时间t的坐标点,画出v-t图线。
乙
结合上述实验步骤,请你完成下列任务:
小题1: 表1记录的是该同学测出计数点的刻度数值,其中x5未测定,请你根据图乙将这个测量值填入表1中。
表1:
| 符? 号 | x0 | x1 | x2 | x3 | x4 | x5 | x6 | x7 | x8 |
| 刻度数值/cm | 0 | 1.12 | 2.75 | 4.86 | 7.49 | ? | 14.19 | 18.27 | 22.03 |
| 符? 号 | v1 | v2 | v3 | v4 | v5 | v6 | v7 |
| 速度数值/(m·s-1) | 0.34 | 0.47 | 0.59 | 0.72 | 0.84 | ? | 0.98 |
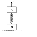
3、计算题 )一劲度系数k=800 N/m的轻质弹簧两端分别连接着质量均为12 kg的物体A、B,将它们竖直静止放在水平面上,如图所示.现将一竖直向上的变力F作用在A上,使A开始向上做匀加速运动,经0.40 s物体B刚要离开地面.g=10 m/s2,
试求:
(1)物体B刚要离开地面时,A物体的速度vA;
(2)物体A重力势能的改变量;
4、简答题 关于胡克定律F=Kx中的x,下列说法正确的是( )
A.x是弹簧伸长后或压缩后的长度
B.x是弹簧原来的长度
C.x是弹簧变化(伸长或压缩)的长度
D.x是弹簧原长加后来的长度
5、简答题 为了测量某一弹簧的劲度系数,将该弹簧竖直悬挂起来,在自由端挂上不同质量的砝码.实验测出了砝码的质量m与弹簧长度L的相应数据,六个对应点已在图上标出.(g=9.8m/s2).
①作出m-L的关系图线;
②弹簧的劲度系数为______牛/米;
③实验中多次测量的目的是为了减小______(填“系统误差”或“偶然误差”).