时间:2019-06-23 21:32:03
1、计算题 如图所示,质量为m=0.1 kg可视为质点的小球从静止开始沿半径为R1=35 cm的圆弧轨道AB由A点滑到B点后,进入与AB圆滑连接的1/4圆弧管道BC.管道出口处为C,圆弧管道半径为R2=15 cm,在紧靠出口C处,有一水平放置且绕其水平轴线匀速旋转的圆筒(不计筒皮厚度),筒上开有小孔D,筒旋转时,小孔D恰好能经过出口C处,若小球射出C出口时,恰好能接着穿过D孔,并且还能再从D孔向上穿出圆筒,小球到最高点后返回又先后两次向下穿过D孔而未发生碰撞,不计摩擦和空气阻力,g取10 m/s2,问:
(1)小球到达B点的瞬间前后对轨道的压力分别为多大?
(2)小球到达C点的速度多大?
(3)圆筒转动的最大周期T为多少?
参考答案:(1) N′1=N1=3 N;N′2=N2=5.7 N? (2) 0.2 s.?1分
本题解析:(1)AB过程机械能守恒:mgR1=
mvB2 vB=
m/s? 2分
到达B点瞬间前:N1-mg=m
? 1分
到达B点瞬间后:N2-mg=m? 1分
依牛顿第三定律,对轨道的压力大小分别为N′1=N1=3 N;N′2=N2=5.7 N? 2
(2)小球向上穿过圆筒D孔又从D孔向上穿出所用的时间t1=
T(k=1、2、3……);
小球向上穿出D孔后竖直上抛又返回到D孔进入圆筒所用时间为2t2=nT(n=1、2、3……)又由竖直上抛规律有:0=vC-g(t1+t2)? 1分
所以T=
? 2?分
当k=n=1时T有最大值,所以T=0.2 s.? 1分
本题考查动能定理和圆周运动规律的应用,在B点为圆周运动的一部分,由支持力和重力的合力提供向心力,由动能定理可求得B点速度大小,再由向心力公式求得支持力大小,由A到C应用动能定理可求得C点速度大小,由于圆筒转动的周期性,经过半个周期的奇数倍时物体能从C点穿出,于是得到周期T的表达式,由此N=1时周期最大
本题难度:一般
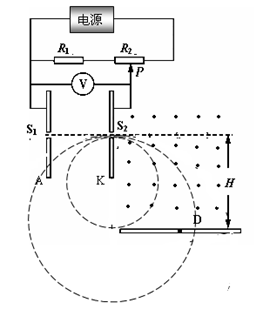
2、计算题 (18分)竖直平行放置的两个金属板A、K连在如图所示的电路中.电源电动势E=" 91" V,内阻r=1Ω,定值电阻R1=l0
,滑动变阻器R2的最大阻值为80
, S1、S2为A、K板上的两个小孔,S1与S2的连线水平,在K板的右侧有一个水平方向的匀强磁场,磁感应强度大小为B="0." 10 T,方向垂直纸面向外.另有一水平放置的足够长的荧光屏D,如图H=0.2m.电量与质量之比为2.0×l05C/kg的带正电粒子由S1进入电场后,通过S2向磁场中心射去,通过磁场后打到荧光屏D上.粒子进入电场的初速度、重力均可忽略不计.
(1)两个金属板A、K各带什么电?
(2)如果粒子垂直打在荧光屏D上,求粒子在磁场中运动的时间和电压表的示数为多大?
(3)调节滑动变阻器滑片P的位置,当滑片到最左端时,通过计算确定粒子能否打到荧光屏?.
参考答案:(1)A极板带正电,(1分)K极板带负电(1分)(如果只答“A极板带正电”或“K极板带负电” ,给1分)?(2)7.9×10-5?s? 40V?(3)
本题解析:
(1)A极板带正电,(1分)K极板带负电(1分)
(如果只答“A极板带正电”或“K极板带负电” ,给1分)
(2)当粒子垂直打到D板上时,有粒子做圆周运动的半径 R=H?(1分)
设粒子的电荷量为q,质量为m,从S2穿出的速度为v0。
由牛顿运动定律得:?
?…………………………(2分)…
?(1分)?
=7.9×10-5?s?(1分)
两极板间的电压U即为电压表的读数,由动能定理:
?(2分)
联立得 U= 40V(1分)
(3)由题知,当滑片到左端时,R2?有最小值,两极板间的电压最小。
由闭合电路欧姆定律,回路中的电流:
?=1A?(1分)
电阻R1两端电压? U1=IR1?(1分)?得U1=10V?(1分)
?(1分)
?(1分)
R1="0.1m" =" H" /2?(2分)
即恰好打在K板的正下方的D板上。(1分)
本题难度:一般
3、实验题 (6分)某同学利用图甲的实验装置做“探究动能定理”的实验。在尽量减小摩擦阻力的情况
下,先接通打点计时器的电源,再释放纸带,让质量
的重物由静止下落,在纸带上打出一系列的
点,如图乙所示,A、B、C分别为所选取的计数点,且
为开始打出的第一点,
之间有若干点未标出,
相邻计数点的时间间隔为
,重力加速度
取
。
(1)释放纸带前,纸带的____________(选填“
”或“
”)端在上面;
(2)重物从
运动到
的过程中,动能的变化量△
(取两位有效数字);
(3)列举一种能有效减小实验误差的做法_____________________________________.
参考答案:①C(2分)?②0.67 (2分)?③多次测量取平均值(2分)
本题解析:(1)因纸带打出的第一点是
点,故释放纸带前,纸带的C端在上面; (2)B带的速度
,动能的变化量
=0.67J;(3)减小实验误差的做法是多次测量取平均值。
本题难度:一般
4、简答题 我国的“嫦娥奔月”月球探测工程已经启动,分“绕、落、回”三个发展阶段:在2007年已经发射了一颗围绕月球飞行的“嫦娥一号”卫星,将在2012年前后发射一颗月球软着陆器,在2017年前后发射一颗返回式月球软着陆器,进行首次月球样品自动取样并安全返回地球.设想着陆器完成了对月球表面的考察任务后,由月球表面回到围绕月球做圆周运动的轨道舱,如图19所示.为了安全,返回的着陆器与轨道舱对接时,必须具有相同的速度。设返回的着陆器质量为m,月球表面的重力加速度为g,月球的半径为R,月球的自转周期为T,轨道舱到月球中心的距离为r,已知着陆器从月球表面返回轨道舱的过程中需克服月球引力做功
,不计月球表面大气对着陆器的阻力和月球自转的影响,则
(1)着陆器与返回舱对接时的速度大小是多少?
(2)在月球表面的着陆器至少需要获得多少能量才能返回轨道舱?
参考答案:(1)
,(2)
本题解析:(1)着陆器在月球表面附近时:
设轨道舱的质量为m0,运行速度大小为v,则:
联立可得:
(2)着陆器与轨道舱对接时具有的动能为:
?
由动能定理得:
则着陆器返回时至少需要能量
本题难度:简单
5、选择题 如图所示,具有初速度的物块,沿倾角为30°、粗糙的斜面向上运动的过程中,受一个恒定的沿斜面向上的拉力F作用,这时物块?加速度的大小为4m/s2,方向沿斜面向下.那么在物块向上运动过程中,正确的说法是
A.物块的机械能一定增加
B.物块的机械能一定减少
C.物块的机械能有可能不变
D.物块的机械能可能增加也可能减少
参考答案:A
本题解析:
试题分析: 设物块的质量为m,拉力与摩擦力的合力大小为F′,根据牛顿第二定律得知,物体所受的合力大小为4m,方向没斜面向下,而重力沿斜面的分力mgsin30°=5m,所以F′沿斜面向上,大小为m,物块沿斜面向上运动,拉力与摩擦力的合力F′做正功,物体的机械能增加,故A正确,BCD错误.
本题难度:一般