时间:2019-05-21 04:52:01
1、选择题 如图所示为皮带转动装置,右边两轮是共轴连接,半径RA=Rc=2RB,皮带不打滑。则下列说法中正确的是(?)
A.A轮与B、C轮的角速度相同
B.B、C轮的角速度相同
C.A轮的角速度大于B轮的角速度
D.A、C轮边缘的线速度相同
参考答案:B
本题解析:BC两轮属于同轴转动,所以角速度相等,AB属于同一条传动带相连,线速度相同,所以A轮与B、C轮的角速度不相同,A错误,B正确,根据公式
可得,AB速度相同,
,所以A轮的角速度较小,C错误,
,
,所以
,D错误
故选B
点评:做此类型题目的关键是知道同一条传动带相连,线速度相同,同轴转动,角速度相等,
本题难度:简单
2、填空题 如图是齿轮传动装置,两个齿轮的半径比ra:rb为1:2,a、b为两轮子边缘点,c?为大轮半径的中点,当齿轮转动时,
υa:υb:υc=______,
ωa:ωb:ωc=______.
参考答案:齿轮传动中两轮不打滑,则有a、b的线速度大小相等,即υa=υb.由公式v=ωr得,ωa:ωb=rb:ra=2:1.
b、c两点角速度相同,即ωc=ωb.由公式v=ωr得,υb:υc=rb:rc=2:1.
综上得到,υa:υb:υc=2:2:1,ωa:ωb:ωc=2:1:1.
故答案为:2:2:1,2:1:1.
本题解析:
本题难度:一般
3、选择题 上海锦江乐园新建的“摩天转轮”可在竖直平面内转动,其直径达98m,世界排名第五,游人乘坐时转轮始终不停地匀速转动,每转动一周用时25min,则( )
A.每时每刻,每个人受到的合力都不等于零
B.每个乘客都在做加速度为零的匀速运动
C.乘客在乘坐过程中,对座位的压力始终不变
D.乘客在乘坐过程中的线速度始终不变
参考答案:A、每个乘客在做匀速圆周运动,具有向心加速度,加速度不为零,合力不为零,故A正确B错误.
C、乘客对座位的压力大小是变化的,在最低点最大.最高点对座位的压力最小,故C错误.
D、圆周运动的速度方向时刻在改变,故线速度一直改变,D错误;
故选:A.
本题解析:
本题难度:简单
4、选择题 如图所示,自行车的大齿轮、小齿轮、后轮三个轮子的半径不一样,它们的边缘有三个点A、B、C.下列说法中正确的是
A.A、B的角速度相同
B.A、C的角速度相同
C.B、C的线速度相同
D.B、C的角速度相同
参考答案:D
本题解析:由于A轮和B轮是皮带传动,皮带传动的特点是两轮与皮带接触点的线速度的大小与皮带的线速度大小相同,故vA=vB,根据v=
,A、B的角速度不相同,A错误;由于B轮和C轮共轴,故两轮角速度相同,即ωB=ωC,A、C的角速度不相同,B错误;根据v=
,B、C的线速度不相同,C错误、D正确。故选D.
考点:角速度、线速度
本题难度:一般
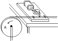
5、填空题 一个有一定厚度的圆盘A,可以绕通过中心垂直于盘面的水平轴转动.用下面的方法测量它匀速转动的角速度.
实验器材:电磁打点计时器,米尺,纸带,复写纸片.
实验步骤:
(1)如图所示,将电磁打点计时器固定在桌面上,将纸带的一端穿过打点计时器的限位孔后,固定在待测圆盘的侧面上,使得圆盘转动时,纸带可以卷在圆盘侧面上.
(2)启动控制装置使圆盘转动,同时接通电源,打点计时器开始打点.
(3)经过一段时间,停止转动和打点,取下纸带,进行测量(已知电磁打点计时器打点周期为T).需要测量的物理量有______;由已知量和测得量表示的角速度的表达式为ω=______(用相应的字母表示).
参考答案:要先求出角速度,比先求出线速度,由于是用纸带测量圆盘的线速度,再利用ω=vr得出角速度,所以需要测盘的半径r,n个点之间的间距x.
在纸带上取两点为n个打点周期,距离为x,则圆盘的线速度为:v=x(n-1)T
得:ω=vr=x(n-1)Tr
故答案为:盘的半径r,n个点之间的间距x;x(n-1)Tr.
本题解析:
本题难度:一般