时间:2018-10-02 04:18:37
1、实验题 在用DIS实验研究小车加速度与外力的关系时,某实验小组先用如图(a)所示的实验装置,重物通过滑轮用细线拉小车,位移传感器(发射器)随小车一起沿倾斜轨道运动,位移传感器(接收器)固定在轨道一端.实验中把重物的重力作为拉力F,改变重物重力重复实验四次,列表记录四组数据。 
(1)在坐标纸上作出小车加速度a和拉力F的关系图线;
(2)从所得图线分析该实验小组在操作过程中的不当之处是______________________;
(3)如果实验时,在小车和重物之间接一个不计质量的微型力传感器,如图(b)所示。从理论上分析,该实验图线的斜率将___________。(填“变大”,“变小”,“不变”)
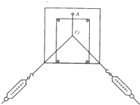
2、简答题 如图所示在“力的平行四边形定则”的实验探究中,某同学进行实验的主要步骤是:
将橡皮条的一端固定在木板上的?A点,另一端拴上两根带有绳套的细绳,每根绳套分别套在弹簧测力计的挂钩上.沿着两个方向拉弹簧测力计,将橡皮条的活动端拉到某一位置,将此位置标记为?O?点,读取此时弹簧测力计的示数,分别记录两个拉力的大小,记为?F1、F2?并标出方向;再用一个弹簧测力计将橡皮条的活动端仍拉至?O?点,记录其拉力的大小记为?F?并标出方向.
(1)用一个弹簧测力计将橡皮条的活动端仍拉至?O?点,这样做的目的是______;
(2)为尽可能减小实验误差,下列操作中正确的是______.
A.测力计、细绳、橡皮条都应与木板平行
B.两细绳必须等长
C.标记同一细绳方向的两点要远些
D.用两个测力计同时拉细绳时,夹角应等于90°.
3、选择题 关于物理学发展,下列表述正确的有(?)
A.伽利略通过斜面实验得出自由落体运动位移与时间的平方成正比
B.牛顿提出了三条运动定律,发表了万有引力定律,并利用扭秤装置比较准确地测出了引力常量
C.笛卡儿明确指出:除非物体受到力的作用,物体将继续以同一速度沿同一直线运动,既不停下来也不偏离原来的方向
D.伽利略科学思想方法的核心是把实验和逻辑推理和谐地结合起来,从而有力地推进了人类科学认识的发展
4、实验题 在“探究加速度与物体质量、物体受力的关系”实验中,某小组设计了如图所示的实验装置。图中上、下两层水平轨道表面光滑,两小车前端系上细线,细线跨过定滑轮并挂上砝码盘,两小车尾部细线连到控制装置上,实验时通过控制装置使小车同时开始运动,然后同时停止。
(1)在安装实验装置时,应调整滑轮的高度,使__________________________。
(2)在实验时,为减小系统误差,应使砝码盘和砝码的总质量_______小车的质量(选填“远大于”、“远小于”、“等于”)。
(3)本实验通过比较两小车的位移来比较小车加速度的大小,能这样比较,是因为__________________________________________。
5、选择题 下列说法正确的是(?)
A.加速度的单位是m/s2,由公式
可知它是由m/s和s两个基本单位组合而成的
B.体积大的物体也可能当作质点
C.力做功有正功和负功因此功是矢量
D.加速度是描述位置变化快慢的物理量