时间:2018-10-01 02:02:49
1、简答题 跳台滑雪是一种极为壮观的运动,它是在依山势建造的跳台上进行的运动.运动员穿着专用滑雪板,不带雪杖在助滑路上获得较大速度后从跳台水平飞出,在空中飞行一段距离后着陆.如图所示,已知某运动员连带身上装备的总质量m=50kg,从倾角为θ=37°的坡顶A点以速度v0=20m/s沿水平方向飞出,到山坡上的B点着陆,山坡可以看成一个斜面(不计空气阻力,取g=10m/s2,sin37°=0.6,cos37°=0.8).求:
(1)运动员在空中飞行的时间t;
(2)AB间的距离s.
(3)运动员落到斜坡上的B点后顺势下蹲以缓冲使他垂直于斜坡的分速度在很短时间△t=0.2s的时间内减小到零.试求缓冲过程中滑雪板受到斜坡的平均支持力的大小.
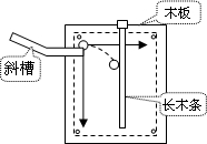
2、选择题 如图所示.在做“研究平抛物体的运动”的实验时,让小球多次沿同一轨道运动,通过描点法画小球做平抛运动的轨迹.为了能较准确地描绘运动轨迹,下面列出了一些操作要求,你认为正确的选项是( )
A.通过调节使斜槽的末端保持水平
B.每次释放小球的位置可以不同
C.每次必须由静止释放小球
D.将小球的位置记录在纸上后,取下纸,用直尺将各点直线连接
3、填空题 如图所示,在高处以初速度v1=3m/s水平抛出一个带刺飞镖,在离开抛出点水平距离l、2l处有A、B两个小气球以速度v2=4m/s匀速上升,先后被飞标刺破(认为飞标质量很大,刺破气球不会改变其平抛运动的轨迹),已知l=1.2m.则飞标刺破A气球时,飞标的速度大小为______m/s;A、B两个小气球未被刺破前的匀速上升过程中,高度差h=______m.
4、选择题 某同学前后两次从同一位置水平投出两支飞镖1和飞镖2到靶盘上,飞镖落到靶盘上的位置如图所示,忽略空气阻力,则两支飞镖在飞行过程中:( )
A.飞行时间t1<t2
B.角度θ1>θ2
C.加速度a1>a2
D.初速度v1=v2
5、计算题 水平地面上有一个半径为R的圆形跑道,高为h的平台边缘上P点在地面上P′点的正上方,P′与跑道圆心O的距离为L(L>R),P′AOC各点均在同一水平直线上,如图所示.一辆小车以速率v在跑道上顺时针运动,已知重力加速度为g,空气阻力不计,小沙袋、小车均可视为质点.则
(1)若从P点水平抛出小沙袋,使其落入小车中,小沙袋被抛出时的初速度v0应满足什么条件?
(2)若小车经过跑道上A点时(∠AOB=90°),现从P点瞄准B点以某一水平初速度v1抛出小沙袋,使其落入小车中,则小沙袋被抛出时的初速度应满足什么条件?小车的速率 v应满足什么条件?