时间:2018-10-01 00:50:09
1、选择题 根据牛顿第二定律,下列叙述正确的是
A.物体加速度的方向可能跟它所受合力的方向相反
B.物体所受合力必须达到一定值时,才能使物体产生加速度
C.物体加速度的大小跟它所受的任一个力的大小都成正比
D.当物体的质量改变时,若所受合力的水平分力不变,则物体水平加速度大小与其质量成反比
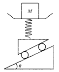
2、计算题 如图所示,质量为80kg的物体放在安装在小车上的水平磅秤上,已知斜面的倾角θ为37°,小车与斜面间的动摩擦因数为0.25,现小车沿斜面向下运动,则磅秤的读数为多少?物体对磅秤的静摩擦力为多少?(sin37°=0.6,cos37°=0.8,g取10m/s2)
3、简答题 如图(a)所示,平行金属导轨MN、PQ光滑且足够长,固定在同一水平面上,两导轨间距L=0.25m,电阻R=0.5Ω,导轨上停放一质量m=0.1kg、电阻r=0.1Ω的金属杆,导轨电阻可忽略不计,整个装置处于磁感强度B=0.4T的匀强磁场中,磁场方向竖直向下,现用一外力F沿水平方向拉杆,使其由静止开始运动,理想电压表的示数U随时间t变化的关系如图(b)所示.试分析与求:
(1)分析证明金属杆做匀加速直线运动;
(2)求金属杆运动的加速度;
(3)写出外力F随时间变化的表达式;
(4)求第2.5s末外力F的瞬时功率.
4、简答题 一根质量为M的木棒,上端用细绳系在天花板上,棒上有一质量为m的猴子,如图所示.如将绳子剪断,猴子沿棒向上爬,仍保持与地面间的高度不变,求这时木棒下落的加速度.
5、选择题 如图所示,一个小球从高处自由下落到达A点与一个轻质弹簧相撞,弹簧被压缩.在球与弹簧接触,到弹簧被压缩到最短的过程中,关于球的动能、重力势能、弹簧的弹性势能的说法中正确的是( )
A.球的动能一直在减小
B.球的动能先增大后减小
C.球的重力势能逐渐减小,弹簧的弹性势能逐渐增加
D.球的重力势能和弹簧的弹性势能之和逐渐增加