时间:2018-03-18 08:51:27
1、选择题 物理学的发展丰富了人类对物质世界的认识,推动了科学技术的创新和革命,促进了物质生产的繁荣与人类文明的进步,下列说法中正确的是
A.牛顿发现了万有引力定律
B.能量耗散说明能量在不停地减少
C.法拉第发现了电磁感应定律
D.相对论的创立表明经典力学已不再适用
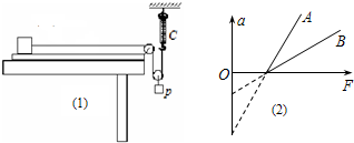
2、简答题 在探究“加速度与力、质量的关系”实验中,小明用物体A、B分别做了加速度随着外力的变化关系,如图(1)所示,用不同的重物P分别挂在光滑的动滑轮拉物体A、B,处理数据后,他们得到加速度a与弹簧秤弹力F的关系图象如图(2)所示,由图象可知
(1)下列说不正确的是______
A.一端带有定滑轮的长木板必须保持水平
B.实验时应先接通电源后释放小车
C.实验中重物P的质量应远小于物块的质量
D.测力计的读数始终为重物P的重力的一半
(2)小明仔细分析了两条线不重合的原因,得出结论:两个物体的质量不等,且mA______mB(填“大于”“等于”或“小于”);两物体与木板之间动摩擦因素μA______μB(填“大于”“等于”或“小于”)
3、简答题 在“探究求合力的方法”的实验中,用钩码通过定滑轮对橡皮条产生力的作用,把它拉长.下面是某同学的操作:
(1)用两组钩码表示力F1和F2如图(甲)所示互成角度地拉橡皮条GE,使其沿直线GC伸长了EO这样的长度,此时应记下______;
(2)撤去F1和F2后用一组钩码表示F作用在橡皮条上如图(乙),使橡皮条沿同一直线伸长______,此时应记下______.
(3)作出F1、F2、F的图示,并进行比较.
4、选择题 下列物理量的单位换算不正确的是
A.1T=1N/(A·m)
B.1Wb=1T·m2
C.1Wb=1V·s
D.1T=1N/(A·m2)
5、选择题 下列关于力的理解中正确的是( )
A.物体静止一定是受到了静摩擦力的作用
B.甲用力把乙推倒,说明甲对乙的力大,而乙对甲的力小
C.当物体离开地面时不再受重力作用
D.力是矢量,不但有大小,还有方向