时间:2017-11-05 17:27:59
1、选择题 如图所示,一束白光通过三棱镜折射后分解为多种色光,A、B为其中的两种单色光,下列说法中正确的是( )
A.A光的频率比B光的大
B.在棱镜中A光的折射率比B光的小
C.在棱镜中B光的传播速度比A光的传播速度大
D.A、B两种色光由玻璃射向空气发生全反射时,B光的临界角比A光的大
参考答案:A、B由图看出,三棱镜对A的偏折角小于对B的偏折角,由折射定律则知,在棱镜中A光的折射率比B光的小,则A光的频率比B光的小.故A错误,B正确.
C、由v=cn分析得知,折射率越大,光在三棱镜中速度越小,所以在棱镜中B光的传播速度比A光的传播速度小.故C错误.
D、由公式sinC=1n知,折射率越大,临界角C越小,所以由玻璃射向空气发生全反射时,B光的临界角比A光的小.故D错误.
故选B
本题解析:
本题难度:一般
2、选择题 如图所示,A、B、C为等腰棱镜,a、b两束不同频率的单色光垂直AB边射入棱镜,两速光在AB面上的入射点到D的距离相等,两束光通过棱镜折射后相交于图中的P点,以下判断正确的是
[? ]
A.在真空中,a光光速大于b光光速
B.在真空中,a光波长大于b光波长
C.a光通过棱镜的时间大于b光通过棱镜的时间
D.a、b两束光从同一介质射入真空过程中,a光发生全反射临界角大于b光发生全反射临界角
参考答案:C
本题解析:
本题难度:一般
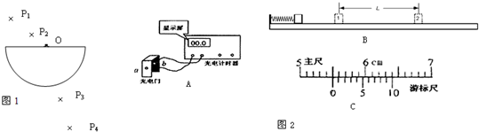
3、简答题 (1)用一横截面为半圆形的玻璃柱体做“测定玻璃折射率”的实验,先在白纸上放好玻璃柱体,在玻璃柱体的上侧插上两枚大头针P1和P2,然后在玻璃柱体的下侧观察,调整视线使P1的像被P2挡住.接着在眼睛所在的一侧插两枚大头针P3、P4,使P3挡住P1、P2的像.P4挡住P3和P1、P2的像,在纸上标出的大头针位置和玻璃柱体轮廓如图1所示.
①在本题的图上画出所需的光路
②为了测出棱镜玻璃的折射率,需要测量的量是______,______,在图上标出它们.
③计算折射率的公式是n=______
(2)光电计时器是一种研究物体运动情况的常用计时仪器,其结构如图2A所示,a、b分别是光电门的激光发射和接收装置,当有物体从a、b间通过时,光电计时器就可以显示物体的挡光时间.
利用如图2B所示装置测量滑块与长1m左右的木板间动摩擦因数,图中木板固定在水平面上,木板的左壁固定有一个处于锁定状态的压缩轻弹簧(弹簧长度与木板相比可忽略),弹簧右端与滑块接触,1和2是固定在木板上适当位置的两个光电门,与之连接的两个光电计时器没有画出.现使弹簧解除锁定,滑块获得一定的初速度后,水平向右运动,光电门1、2各自连接的计时器显示的挡光时间分别为2.0×10-2s和5.0×10-2s,用游标卡尺测量小滑块的宽度d,卡尺示数如图2C所示.
①读出滑块的宽度d=______cm.
②滑块通过光电门1的速度v1=______m/s;滑动通过光电门2的速度v2=______m/s;
③若用米尺测量出两个光电门之间的距离为L,已知当地的重力加速为g,则滑块与木板动摩擦因数表达式为______(各量均用字母表示).
参考答案:(1)①光路图如图所示.
②需要测量入射角i和折射角r;
③n=sinisinγ;
(2)①由图示游标卡尺可得,主尺示数为5.5cm,游标尺示数为5=0×0.1mm=0.00cm,
宽度d=5.5cm+0.00cm=5.50cm;
②v1=dt1=5.50×0.01m2.0×10-2s=2.75m/s;
v2=dt2=5.50×0.01m5.0×10-2s=1.10m/s;
③根据动能定理,有:-μmgL=12mv22-12mv21;
解得:μ=v21-v222gL
故答案为:(1)①②如图所示;③sinisinγ.
(2)①5.50cm;②2.75m/s,1.10m/s;③v21-v222gL.
本题解析:
本题难度:一般
4、计算题 在测定玻璃折射率的实验中,某同学由于没有量角器,在完成了光路图以后,以O点为圆心,10.00 cm长为半径画圆,分别交线段OA于A点,交O和O′连线延长线于C点,过A点作法线NN′的垂线AB交NN′于B点,过C点作法线NN′的垂线CD交NN′于D点,如图所示。用刻度尺量得OB=8.00 cm,CD=4.00 cm,请由以上条件得出玻璃的折射率。(请写出必要的分析和推演过程)
参考答案:n=1.5
本题解析:
本题难度:一般
5、选择题 一个人站在水面平静的湖边,观察离岸一段距离的水下的一条鱼.这个人看到的鱼的位置和鱼在水下真实位置相比较,下述说法中正确的是( )
A.在鱼真实位置的正下方某处
B.在鱼真实位置上方的某处
C.在鱼真实位置下方偏向观察者的某处
D.所给条件不足,无法确定观察到的鱼的位置
参考答案:鱼反射的光线由水中进入空气时,在水面上发生折射,折射角大于入射角,折射光线进入人的眼睛,人会逆着折射光线的方向看去,就会觉得鱼变浅了.所以这个人看到的鱼的位置在鱼真实位置上方的某处.故B正确,ACD错误.
故选:B
本题解析:
本题难度:一般