时间:2017-09-25 08:46:08
1、选择题 正在水平路面上行驶的汽车车厢底部有一质量为m1的木块,在车厢的顶部用细线悬挂一质量为m2的小球,某段时间内,乘客发现细线与竖直方向成θ角,而木块m1则始终相对于车厢静止,由此可以判断
[? ]
A.这段时间内,汽车可能正在向左匀加速行驶
B.这段时间内,汽车可能正在向右匀加速行驶
C.这段时间内,木块对车厢底部的摩擦力大小为m1gtanθ
D.这段时间内,木块对车厢底部的摩擦力为零
参考答案:AC
本题解析:
本题难度:一般
2、选择题 如图所示,一轻弹簧两端分别连接物体a、b。第一种情景:在水平力F1的作用下a、b共同向右匀变速运动,此时弹簧的长度为l1;第二种情景:在沿斜面向上的力F2的作用下a、b共同向上匀变速运动,此时弹簧的长度为l2。若物体a、b与接触面的摩擦因数相同,则轻弹簧的原长为
[? ]
A.
B.
C.
D.
参考答案:C
本题解析:
本题难度:一般
3、选择题 狗拉着雪撬在水平冰面上沿着圆弧形的道路做逆时针的匀速圆周运动,下图为四个关于雪橇受到的牵引力F及摩擦力f的示意图(O为圆心),其中正确的是 ( ?)

参考答案:C
本题解析::雪橇做匀速圆周运动,合力指向圆心,提供向心力;
滑动摩擦力的方向和相对运动方向相反,故向后;拉力与摩擦力的合力指向圆心,故拉力指向雪橇的左前方;
故选C.
点评:本题关键对雪橇受力分析,根据滑动摩擦力与相对滑动方向相反得出滑动摩擦力的方向,根据匀速圆周运动的合力指向圆心,得出拉力的方向.
本题难度:简单
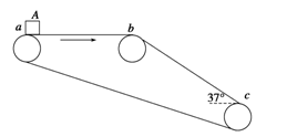
4、计算题 (15分)如图15所示,传送带的水平部分ab=2m,斜面部分bc=4m,bc与水平面的夹角α=37°。一个小物体A与传送带的动摩擦因数μ=0.25,传送带沿图示的方向运动,速率v=2 m/s.若把物体A轻放到a处,它将被传送带送到c点,且物体A不会脱离传送带.求物体A从a点被传送到c点所用的时间.(已知:sin 37°=0.6,cos 37°=0.8,g=10 m/s2) 
参考答案:2.4 s
本题解析:物体A轻放在a点后在摩擦力作用下向右做匀加速直线运动直到和传送带速度相等.在这一过程中有
a1=
=μg.①?
x1=
=
=0.8 m<ab. ②
经历时间为t1=
=0.8 s.③
此后随传送带运动到b点的时间为t2=
=0.6 s.④
当物体A到达bc斜面时,由于mgsin 37°=0.6mg>μmgcos 37°=0.2mg.所以物体A将再次沿传送带做匀加速直线运动,其加速度大小为
a2=gsin 37°-μgcos 37°=4 m/s2?⑤
物体A在传送带bc上所用时间满足
bc=vt3+
a2t
⑥
代入数据得t3=1 s⑦.(负值舍去)
则物体A从a点被传送到c点所用时间为
t=t1+t2+t3=2.4 s.?⑧
本题考查力与运动的关系,货物在水平传动带上由滑动摩擦力提供加速度,由运动学公式可求得运动到b端的时间和速度,到达斜面传送带时,因为货物速度小于传送带速度,所以一开始货物受到传送带沿斜面向下的滑动摩擦力,由牛顿第二定律可求得此过程的加速度大小,当两者速度相等时,判断重力沿斜面向下的分力大于最大静摩擦力,可知货物相对传送带沿斜面下滑,所受滑动摩擦力沿斜面向上,再由牛顿第二定律求得加速度大小,此题为多过程问题,分别求得三个过程的时间,取和即可
本题难度:简单
5、选择题 用绳子将一物体吊在电梯天花板上,在下列四种情况中,绳子拉力最大的是( )
A.电梯匀速上升
B.电梯匀加速上升
C.电梯匀速下降
D.电梯匀加速下降
参考答案:A、梯匀速上升,拉力等于重力;
B、电梯匀加速上升,加速度向上,合力向上,拉力大于重力;
C、电梯匀速下降,平衡态,拉力等于重力;
D、电梯匀加速下降,加速度向下,合力向下,拉力小于重力;
故B选项中拉力大于重力,最大;
故选B.
本题解析:
本题难度:一般