高中物理知识点复习《弹力》高频试题巩固(2017年最新版)(四)

时间:2017-09-25 07:54:36

微信搜索关注"91考试网"公众号,领30元,获取事业编教师公务员等考试资料40G

1、填空题  用精密仪器测量一物体的长度,得到结果为1.63812cm。现改用最小刻度为1mm的刻度尺去测量,结果应该为_______cm;如果改用20分度的游标卡尺去测量,结果应该为_______cm;如果改用螺旋测微器去测量,结果应该为______cm。



2、实验题  用双缝干涉测光的波长.实验装置如图甲所示,已知单缝与双缝间的距离L1=100 mm,双缝与屏的距离L2=700 mm,双缝间距d=0.25 mm.用测量头来测量亮纹中心的距离.测量头由分划板、目镜、手轮等构成,转动手轮,使分划板左右移动,让分划板的中心刻线对准亮纹的中心(如图乙所示),记下此时手轮上的读数,转动测量头,使分划板中心刻线对准另一条亮纹的中心,记下此时手轮上的读数.

①分划板的中心刻线分别对准第1条和第4条亮纹的中心时,手轮上的读数如图丙所示,则对准第1条时读数x1=________mm、对准第4条时读数x2=________mm
②该光的波长λ=________nm
③某同学按实验装置安装好仪器后,观察光的干涉现象,获得成功,若他在此基础上对仪器的安装做如下改动,仍能使实验成功的是?
A.将遮光筒内的光屏,向靠近双缝的方向移动少许,其他不动
B.将滤光片移至单缝和双缝之间,其他不动
C.将单缝向双缝移动少许,其他不动
D.将单缝与双缝的位置互换,其他不动



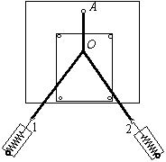
3、计算题  在“验证力的平行四边形定则”的实验中,用两个弹簧秤分别勾住绳套1和2,互成角度地拉橡皮条,使橡皮条伸长,结点到达某一位置O,如图所示.现用一个小钉固定住绳套1的位置不变,而改变弹簧秤2的位置拉橡皮条,结点仍到达位置O,则绳套1的拉力的大小和方向

[  ]
A.力的大小不变,方向也不变
B.力的大小改变,方向不变
C.力的大小不变,方向改变
D.力的大小和方向都改变
?



4、实验题  (6分)读出下图中游标卡尺和螺旋测微器的读数,游标卡尺的读数为_________mm;螺旋测微器的读数为_________mm。



5、实验题  (8分)图甲为测量物块与水平桌面之间动摩擦因数的实验装置示意图,细线平行于桌面,物块和遮光片的总质量为M、重物的质量为m,遮光片的宽度为d,两光电门之间的距离为s。让物块从光电门A的左侧由静止释放,分别测出遮光片通过光电门A、B所用的时间为tA和tB,用遮光片通过光电门的平均速度表示遮光片竖直中线通过光电门的瞬时速度。

⑴如果物块运动的加速度为a,则物块与水平桌面之间动摩擦因数μ为?
A.?B.
C.?D.
⑵利用实验中测出的物理量,算出物块运动的加速度a为?
A.?B.
C.?D.
⑶遮光片通过光电门的平均速度?(选填“大于”、“等于”或“小于”)遮光片竖直中线通过光电门的瞬时速度,由此会产生误差,请写出一种减小这一误差的方法。
答:?




首页 上页 3 4 5 下页 尾页 4/10/10
微信搜索关注"91考试网"公众号,领30元,获取公务员事业编教师考试资料40G
【省市县地区导航】【考试题库导航】
 ★ 高考省级导航 ★ 
全国 A安徽 B北京 C重庆 F福建 G广东 广西 甘肃 贵州 H河南 河北 湖南 湖北 黑龙江 海南 J江苏 江西 吉林 L辽宁 N内蒙古 宁夏 Q青海 S山东 山西 陕西 四川 上海 T天津 X新疆 西藏 Y云南 Z浙江
 ★ 高考信息汇总 ★ 
 ★ 高考历年真题 ★ 
 ★ 高考历年真题 ★ 
 ★ 高考题库 ★ 
 ★ 高考题库 ★ 

电脑版  |  手机版  |  返回顶部