-->

1、填空题  如图(a)为某同学设计的“探究加速度与物体所受合力F及质量m的关系”实验装置简图,A为小车,B为电火花计时器,C为装有砝码的小桶,D为一端带有定滑轮的长方形木板.在实验中细绳对小车拉力F等于砝码和小桶的总重力,小车运动加速度a可用纸带上的点求得.
(1)关于该实验,下列说法中正确的是______. ">

高考物理知识大全《力的合成与分解》试题强化练习(2017年最新版)

时间:2017-09-23 23:45:13

微信搜索关注"91考试网"公众号,领30元,获取事业编教师公务员等考试资料40G

1、填空题  如图(a)为某同学设计的“探究加速度与物体所受合力F及质量m的关系”实验装置简图,A为小车,B为电火花计时器,C为装有砝码的小桶,D为一端带有定滑轮的长方形木板.在实验中细绳对小车拉力F等于砝码和小桶的总重力,小车运动加速度a可用纸带上的点求得.
(1)关于该实验,下列说法中正确的是______.
A.砝码和小桶的总重力要远小于小车的重力
B.为消除摩擦力对实验的影响,可以把木板D的左端适当垫高
C.电火花计时器使用交流电源
D.木板D的左端被垫高后,图中细线应保持水平
(2)图(b)是实验中获取的一条纸带的一部分:0、1、2、3、4、5、6、7是计数点,每相邻两计数点间还有4个打点(图中未标出),计数点间的距离如图所示.根据图中数据完成表格中空白处.
600)makesmallpic(this,600,1800);\' alt=\"91考试网\" src=\"http://www_php168_com/91files/2016060322/0tkk24bfkdb.png\">

计数点123456
瞬时速度/(?m?s-1)
0.165
0.215
______
0.314
0.364
0.413
由纸带求出小车的加速度a=______?m/s2?(加速度a保留2位有效数字)
(3)在“探究加速度与质量的关系”时,保持砝码和小桶质量不变,改变小车质量m,分别测得小车的加速度a与对应的质量m数据如下表:
次数12345
小车的加速度a/(?m?s-2)
1.25
1.00
0.80
0.50
0.40
小车的质量m/kg
0.400
0.500
0.625
1.000
1.250Z
小车质量的倒数m-1/kg-1
2.50
2.00
1.60
1.00
0.80
利用上表数据,在坐标纸中选择合适物理量为坐标轴建立坐标系,作出直观反映a与m关系的图象.
600)makesmallpic(this,600,1800);\' alt=\"91考试网\" src=\"http://www_php168_com/91files/2016060322/nklxvygfs3n.png\">
______
(4)上题中该小车受到的拉力F为______N.600)makesmallpic(this,600,1800);\' alt=\"91考试网\" src=\"http://www_php168_com/91files/2016060322/eacg0j2hkb4.png\">



2、简答题  下列电学单位中,属于国际单位制中基本单位的是(  )
A.安培
B.伏特
C.韦伯
D.库仑



3、选择题  下列关于力的说法中,正确的是( ? )
①力是不能离开施力物体和受力物体而独立存在的
②力可以离开物体而独立存在
③受力物体同时也是施力物体,施力物体同时也是受力物体
④马拉车前进,马对车有拉力,但车对马没有拉力
A.①③
B.①④
C.②③
D.②④



4、简答题  在“探究求合力的方法”的实验中,王同学用了两个量程为5N、最小刻度为0.1N的弹簧秤来测量拉力.实验之前他先检查了弹簧秤,然后进行实验:
(1)实验前对弹簧秤进行检查,下列哪些检查是必需的?______.
A.将弹簧秤放在桌面上,进行调零
B.将弹簧秤竖直放置,进行调零
C.将弹簧秤用力拉,看是否能达到最大量程
D.将两只弹簧秤水平互钩对拉,检查两弹簧秤读数是否相同
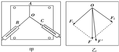
(2)实验情况如图甲所示,其中A为固定橡皮筋的图钉,O为橡皮筋与细绳的结点,OB和OC为细绳.图乙是在白纸上根据实验结果画出的图.图乙中的F与F′两力中,方向一定沿AO方向的是______;本实验采用的科学方法是______(填“理想实验法”、“等效替代法”或“控制变量法”).600)makesmallpic(this,600,1800);\' alt=\"91考试网\" src=\"http://www_php168_com/91files/2016060322/uuykpx0ftsr.png\">



5、简答题  光电计时器是一种研究物体运动情况的常见仪器.当有物体从光电门通过时,光电计时器就可以显示物体的挡光时间.现利用如图甲所示装置探究物体的加速度与合外力、质量关系,其?NQ是水平桌面,PQ是一端带有滑轮的长木板,1、2是固定在木板上的两个光电门(与之连接的两个光电计时器没有画出).小车上固定着用于挡光的窄片K,测得其宽度为d,让小车从木板的顶端滑下,光电门各自连接的计时器显示窄片K的挡光时间分别为t1和t2.
(1)该实验中,在改变小车的质量M或沙桶的总质量m时,保持M>>m,这样做的目的是______;
(2)为了计算出小车的加速度,除了测量d、t1和t2之外,还需要测量______,若上述测量量用x表示,则用这些物理量计算加速度的表达式为a=______.600)makesmallpic(this,600,1800);\' alt=\"91考试网\" src=\"http://www_php168_com/91files/2016060322/zdpib1yrapc.png\">




微信搜索关注"91考试网"公众号,领30元,获取公务员事业编教师考试资料40G
【省市县地区导航】【考试题库导航】
 ★ 高考省级导航 ★ 
全国 A安徽 B北京 C重庆 F福建 G广东 广西 甘肃 贵州 H河南 河北 湖南 湖北 黑龙江 海南 J江苏 江西 吉林 L辽宁 N内蒙古 宁夏 Q青海 S山东 山西 陕西 四川 上海 T天津 X新疆 西藏 Y云南 Z浙江
 ★ 高考信息汇总 ★ 
 ★ 高考历年真题 ★ 
 ★ 高考历年真题 ★ 
 ★ 高考题库 ★ 
 ★ 高考题库 ★ 

电脑版  |  手机版  |  返回顶部