高考物理知识大全《力的合成与分解》试题强化练习(2017年最新版)(四)

时间:2017-09-23 23:45:13

微信搜索关注"91考试网"公众号,领30元,获取事业编教师公务员等考试资料40G

1、选择题  如图所示,在一座寺庙门口吊着一口大钟,在大钟旁边并排吊着撞锤,吊撞锤的轻绳长为L,与吊撞锤的点等高且水平相距处有一固定的光滑定滑轮,一和尚将轻绳一端绕过定滑轮连在撞锤上,然后缓慢往下拉绳子另一端,使得撞锤提升竖直高度L/2时突然松手,使撞锤自然的摆动下去撞击大钟,发出声音。(重力加速度g)则

A.在撞锤上升过程中,和尚对绳子的拉力大小不变
B.在撞锤上升过程中,撞锤吊绳上的拉力大小不变
C.突然松手时,撞锤的加速度大小等于g
D.突然松手时,撞锤的加速度大小等于g



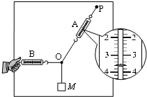
2、简答题  某同学第一次采用如图所示的实验装置来验证“力的平行四边形定则”.弹簧测力计A挂于固定点P,下端用细线挂一重物M.弹簧测力计B的一端用细线系于O点,手持另一端向左拉,使结点O静止在某位置.分别读出弹簧测力计A和B的示数,并在贴于竖直木板的白纸上记录O点的位置和拉线的方向.
(1)本实验用的弹簧测力计示数的单位为N,图中A的示数为______N.
(2)(单选题)下列不必要的实验要求是______
A.应测量重物M所受的重力
B.弹簧测力计应在使用前校零
C.拉线方向应与木板平面平行
D.改变拉力,进行多次实验,每次都要使O点静止在同一位置
(3)在第二次实验中,某同学换用两个弹簧测力计拉橡皮筋到O点,两弹簧测力计读数分别为F1和F2,用一个弹簧测力计拉橡皮筋到O点时读数为F′.通过作图法验证平行四边形定则时,图中符合实际情况的是______
91考试网
91考试网



3、选择题  如图是某同学利用教材提供的方案进行“探究加速度与力、质量的关系”实验时,仪器装置的情况。另一位同学指出了实验时的几个错误,说法正确的是

[? ]
A.该实验没有平衡摩擦力
B.拉小车的细线应平行桌面
C.实验电源应为交流电电源
D.小车应靠近打点计时器且打点计时器应距左端较远



4、选择题  如图所示,在“探究加速度与力、质量的关系”的实验中,若1、2两个相同的小车所受拉力分别为F1、F2,车中所放砝码的质量分别为m1、m2,打开夹子后经过相同的时间两车的位移分别为x1、x2,则在实验误差允许的范围内,有

[? ]
A.当m1=m2、F1=2F2时,x1=2x2
B.当m1=m2、F1=2F2时,x2=2x1
C.当F1=F2、m1=2m2时,x1=2x2
D.当F1=F2、m1=2m2时,x2=2x1



5、选择题  同学们通过对物理的学习,已经清楚了力与运动的关系。历史上大致有两种观点,一种认为力是维持物体运动状态的原因,另一种认为力是改变物体运动状态的原因。对力与运动的关系上认识正确的科学家是(?)
A.牛顿?伽利略
B.亚里士多德?牛顿
C.亚里士多德?笛卡尔
D.亚里士多德?伽利略




首页 上页 3 4 5 下页 尾页 4/10/10
微信搜索关注"91考试网"公众号,领30元,获取公务员事业编教师考试资料40G
【省市县地区导航】【考试题库导航】
 ★ 高考省级导航 ★ 
全国 A安徽 B北京 C重庆 F福建 G广东 广西 甘肃 贵州 H河南 河北 湖南 湖北 黑龙江 海南 J江苏 江西 吉林 L辽宁 N内蒙古 宁夏 Q青海 S山东 山西 陕西 四川 上海 T天津 X新疆 西藏 Y云南 Z浙江
 ★ 高考信息汇总 ★ 
 ★ 高考历年真题 ★ 
 ★ 高考历年真题 ★ 
 ★ 高考题库 ★ 
 ★ 高考题库 ★ 

电脑版  |  手机版  |  返回顶部