时间:2017-09-23 22:53:17
1、计算题 (14分)如图甲所示,电阻不计的“
”形光滑导体框架水平放置,导体框处在竖直向上的匀强磁场中,磁感应强度为B=1T,有一导体棒AC横放在框架上且与导体框架接触良好,其质量为m=0.2kg,电阻为R=0.8
,现用绝缘轻绳拴住导体棒,轻绳的右端通过光滑的定滑轮绕在电动机的转轴上,左端通过另一光滑的定滑轮与物体D相连,物体D的质量为M=0.2kg,电动机内阻r=1
。接通电路后电压表的读数恒为U=10V,电流表读数恒为I=1A,电动机牵引原来静止的导体棒AC平行于EF向右运动,其运动位移x随时间t变化的图象如图乙所示,其中OM段为曲线,MN段为直线。(取g=10m/s2)求:
(1)电动机的输出功率;
(2)导体框架的宽度;?
(3)导体棒在变速运动阶段产生的热量。
2、选择题 如图所示,两根足够长光滑平行金属导轨PQ、MN倾斜固定,倾角为θ=30°,相距为L,导轨处于磁感应强度为B、方向垂直导轨平面向下的匀强磁场中。有两根质量均为m的金属棒a、b,先将a棒垂直导轨放置,用跨过光滑定滑轮的细线与小球c连接,连接a棒的细线平行于导轨,由静止释放c,此后某时刻,将b棒也垂直导轨放置在导轨上,b刚好能静止。a棒在运动过程中始终与导轨垂直,两棒与导轨接触良好,导轨电阻不计,重力加速度为g。则
A.小球c的质量为m
B.b棒放上导轨前a棒的加速度为0.5g
C.b棒放上导轨后a棒中电流大小是
D.b棒放上导轨后,小球c减少的重力势能等于回路消耗的电能
3、选择题 如图,平行导轨间距为d,一端跨接一个电阻为R,磁场的磁感强度为B,方向与导轨所在平面垂直。一根足够长的金属棒与导轨成θ角放置,金属棒与导轨的电阻不计。当金属棒沿垂直于棒的方向以速度v滑行时,通过电阻R的电流强度是
A.
B.
C.
D.
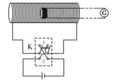
4、选择题 如图所示是测量通电螺线管内部磁感应强度的一种装置:把一个很小的测量线圈放在待测处(测量线圈平面与螺线管轴线垂直),将线圈与可以测量电荷量的冲击电流计G串联,当将双刀双掷开关K由位置1拨到位置2时,测得通过测量线圈的电荷量为q。已知测量线圈的匝数为N,截面积为S,测量线圈和G串联回路的总电阻为R。下列判断正确的是:
A.在此过程中,穿过测量线圈的磁通量的变化量
B.在此过程中,穿过测量线圈的磁通量的变化量
C.待测处的磁感应强度的大小为
D.待测处的磁感应强度的大小为
5、选择题 如图,光滑金属导轨由倾斜和水平两部分组成,水平部分足够长且处在竖直向下的匀强磁场中,右端接一电源(电动势为E,内阻为r).一电阻为R的金属杆PQ水平横跨在导轨的倾斜部分,从某一高度由静止释放,金属杆PQ进入磁场后的运动过程中,速度时间图象不可能是下图中的哪一个?(导轨电阻不计)( )
A.
B.
C.
D.
