高考物理知识点总结《力的合成与分解》试题预测(2017年最新版)(八)

时间:2017-08-22 02:46:28

微信搜索关注"91考试网"公众号,领30元,获取事业编教师公务员等考试资料40G

1、选择题  发现万有引力定律的物理学家是
A.安培
B.伽利略
C.牛顿
D.开普勒


参考答案:C


本题解析:发现万有引力定律的物理学家是牛顿,故选C
点评:本题难度较小,对于物理史实问题要注意积累和记忆


本题难度:简单



2、选择题  下列说法中正确的是(?)
A.伽利略首先推导出了单摆的周期公式
B.牛顿用实验测出了万有引力恒量G
C.库仑发现了真空中两个静止点电荷之间相互作用的规律
D.奥斯特发现了电磁感应定律


参考答案:C


本题解析:A、伽利略首先发现了单摆的等时性原理,惠更斯首先推导出了单摆的周期公式,故A错误.
B、卡文迪许用实验测出了万有引力恒量G,故B错误.
C、库仑发现了真空中两个静止点电荷之间相互作用的规律即库仑定律,并测出了静电力恒量K.故C正确
D、奥斯特发现了电流的磁效应,法拉第发现了电磁感应定律,故D错误.


本题难度:一般



3、选择题  下列说法中符合物理学史实的是
A.伽利略认为力是维持物体运动的原因
B.牛顿最早测出了万有引力常量G
C.胡克认为,在一定限度内弹簧的弹力与其形变量成正比
D.开普勒通过对行星运动的研究得出了万有引力定律


参考答案:C


本题解析:分析:亚里士多德认为力是维持物体运动的原因,卡文迪许最早测出了万有引力常量,胡克发现了胡克定律,开普勒通过对行星运动的研究得出了开普勒三定律.
解答:解:A、亚里士多德认为力是维持物体运动的原因,故A错误.
B、卡文迪许最早测出了万有引力常量,故B错误.
C、胡克认为,在一定限度内弹簧的弹力与其形变量成正比,故C错误.
D、开普勒通过对行星运动的研究得出了开普勒三定律,故D错误.
故C正确.
点评:加强对基础知识的积累,多读、多看、适量做题就能顺利解决此类问题.


本题难度:简单



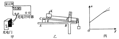
4、实验题  光电计时器是一种研究物体运动情况的常见计时仪器,其结构如图甲所示,a,b分别是光电门的激光发射和接收装置,当有物体从a,b之间通过时,光电计时器就可以显示物体的挡光时间,现利用图乙所示的装置设计一个“探究物体的加速度与合外力、质量的关系”的实验,图中AB是水平桌面,CD是一端带有定滑轮的长木板,为了平衡小车与木板间摩擦,将木板C端垫高,将光电门固定在靠近木板滑轮一端的F点(与之连接的光电计时器没有画出)。小车上固定着用于挡光的窄片K,让小车从木板上的E点由静止滑下,与光电门连接的计时器显示窄片K的挡光时间。

(1)用游标卡尺测量窄片的宽度d,如图丁所示,其读数为___cm。

(2)用米尺测量E,F两点间距为L,已知L>>d,与光电门连接的计时器显示的挡光时间为△t,则小车的加速度表达式a=___(结果用所给字母表示)。
(3)某同学在实验中保持小车质量M不变,改变砂与砂桶质量m,并将砂和砂桶的重力当做小车所受的合外力F,通过多次测量作出a-F图线,如图丙中实线所示,试分析图线不过坐标原点的原因是____,图线上部明显偏离直线的原因是____。


参考答案:(1)0.52
(2)
(3)木块垫得太高(或平衡摩擦力过度);砂和砂桶的质量m不满足远小于小车的质量M


本题解析:


本题难度:一般



5、选择题  关于力的概念,哪一个说法是错误的(  )
A.力是物体间的相互作用
B.力的三要素是大小、方向和作用点
C.力是标量,只有大小,没有方向
D.可以用弹簧秤来测量力的大小


参考答案:C


本题解析:


本题难度:一般




首页 上页 7 8 9 下页 尾页 8/10/10
微信搜索关注"91考试网"公众号,领30元,获取公务员事业编教师考试资料40G
【省市县地区导航】【考试题库导航】
 ★ 高考省级导航 ★ 
全国 A安徽 B北京 C重庆 F福建 G广东 广西 甘肃 贵州 H河南 河北 湖南 湖北 黑龙江 海南 J江苏 江西 吉林 L辽宁 N内蒙古 宁夏 Q青海 S山东 山西 陕西 四川 上海 T天津 X新疆 西藏 Y云南 Z浙江
 ★ 高考信息汇总 ★ 
 ★ 高考历年真题 ★ 
 ★ 高考历年真题 ★ 
 ★ 高考题库 ★ 
 ★ 高考题库 ★ 

电脑版  |  手机版  |  返回顶部