高考地理答题模板《自然环境的整体性和差异性》试题特训(2017年最新版)(七)

时间:2017-01-18 05:17:24

微信搜索关注"91考试网"公众号,领30元,获取事业编教师公务员等考试资料40G

1、单选题  下述的地理环境中属于从沿海向内陆的地域分异的是

A.青藏高原的高山植物区
B.加拿大的亚寒带针叶林带
C.秦淮以南的亚热带常绿阔叶林带
D.澳大利亚自东向西呈现出森林、草原、荒漠带的半环状分布


参考答案:D


本题解析:本题主要考察自然环境的差异性。从沿海向内陆的地域分异特征之一:自然带呈东西方向有规律递变。以水分条件为基础。


本题难度:困难



2、单选题  图为“沿海地区山地垂直自然带分布图”,读图回答问题。

该山地可能位于

A.北半球温带地区
B.南半球温带地区
C.北半球亚热带地区
D.南半球亚热带地区


参考答案:B


本题解析:本题考查山地垂直地带性。图示北坡自然带向上倾斜,说明北坡为向阳坡,判断该山地位于南半球,且图示山麓自然带为落叶阔叶林带,判断该山地位于温带。


本题难度:困难



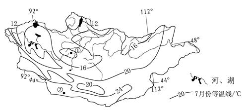
3、单选题  下图示意亚洲某内陆国水系分布和七月份气温分布情况。读图完成题。
1.图中①地的7月均温可能为2.该国3.图中②地的自然带为

A.18℃
B.16℃
C.14℃
D.10℃
E.年降水量南多北少
F.常年受西风带控制
G.东南部地势起伏大
H.水汽主要来自北冰洋
I.温带落叶阔叶林带
G.温带荒漠带
亚寒带针叶林带
高山草甸带


参考答案:1. D
2. D
3. B


本题解析:1.试题分析:根据图示7月份气温的分布规律可知:等气温差是4℃,①地地势高,气温低,其气温范围是8℃-12℃之间,符合条件的只有D选项。故选D。
考点:等温线
点评:本题根据等温线的分布规律考查气温的大小,试题难度中等,解题关键是理解等温线的分布规律。
2.试题分析:读图可知该国北部水系发达,表明北部降水多,南部少;东南部等温线稀疏,地势起伏小;因位于亚洲大陆内部,且离北冰洋较近,所以受西风影响较小,其水汽主要来自北冰洋。故选D。
考点:降水分布
点评:本题考查影响图示地区降水分布的原因,试题难度中等,解题关键是理解该地区降水的原因。
3.试题分析:图中②地位于亚洲大陆的内部,降水少,气候干燥,形成温带荒漠带。故选B.
考点:自然带
点评:本题考查亚洲大陆自然带的名称,试题难度较小,解题关键是识记亚洲大陆自然带的空间分布。


本题难度:一般



4、单选题  下列地质现象中属于地质构造的是
??????


参考答案:B


本题解析:本题考查地质构造的判断。地质构造是指岩层的变形和变位,故只有图示B为岩层的弯曲而形成的褶皱结构,A图为沙丘、C图为河口三角洲、D图为风蚀蘑菇都属于外力作用形成的地貌。


本题难度:简单



5、单选题  下列环境或环境构成要素中属于人文地理环境的是
??? ①卧龙大熊猫自然保护区? ②丘陵和低山地区的缓坡梯田? ③内蒙古呼伦贝尔草原
??? ④沿海滩涂? ⑤苏州拙政园和北京颐和园? ⑥人民法院和人民检察院? ⑦北京天安门广场

[???? ]


A、①③④
B、②⑤⑦
C、①②③
D、②⑤⑥⑦


参考答案:B


本题解析:


本题难度:简单




首页 上页 6 7 8 下页 尾页 7/10/10
微信搜索关注"91考试网"公众号,领30元,获取公务员事业编教师考试资料40G
【省市县地区导航】【考试题库导航】
 ★ 高考省级导航 ★ 
全国 A安徽 B北京 C重庆 F福建 G广东 广西 甘肃 贵州 H河南 河北 湖南 湖北 黑龙江 海南 J江苏 江西 吉林 L辽宁 N内蒙古 宁夏 Q青海 S山东 山西 陕西 四川 上海 T天津 X新疆 西藏 Y云南 Z浙江
 ★ 高考信息汇总 ★ 
 ★ 高考历年真题 ★ 
 ★ 高考历年真题 ★ 
 ★ 高考题库 ★ 
 ★ 高考题库 ★ 

电脑版  |  手机版  |  返回顶部