时间:2017-01-15 11:05:24
1、单选题 下列属于喷出型岩浆岩的是
A.花岗岩
B.大理岩
C.玄武岩
D.砂岩
参考答案:C
本题解析:喷出型岩浆岩的是喷出岩,最典型的是玄武岩。选择C项。
本题难度:一般
2、单选题 腾冲位于云南省西部边陲,境内有97座火山群、62处地热泉,盛产翡翠玉石。图为“岩石圈物质循环示意图”,数字序号表示岩浆、岩浆岩、变质岩、风化物、沉积物,字母表示各种地质作用。据此回答下题。
1.腾冲多火山、地热泉的主要原因是位于2.腾冲的翡翠玉石是在变质环境中形成的。图中表示翡翠玉石及其形成过程的是3.腾冲所在地区山高谷深,形成其峡谷的外力作用主要是
A.印度洋板块与亚欧板块的张裂地带
B.太平洋板块与亚欧板块的张裂地带
C.印度洋板块与亚欧板块的碰撞地带
D.太平洋板块与亚欧板块的碰撞地带
E.②、I
F.④、N
G.③、M
H.⑤、H
I.冰川侵蚀
G.风化作用
风力侵蚀
流水侵蚀
参考答案:1. C
2. A
3. D
本题解析:试题分析:
1.云南地处印度洋板块与亚欧板块的碰撞地带,因板块的碰撞挤压,这里地质构造不稳,多火山、地震发生,多断层出现,多岩浆活动,形成温泉热水。
2.图中数码和字母分别表示:①是沉积物②变质岩③岩浆④岩浆岩⑤风化物,E-风化作用,F-沉积作用,G-风化作用,N-岩浆活动,M-重熔再生作用,L-变质作用,I-变质作用,H-风化作用。图中表示翡翠玉石及其形成过程②、I。选A正确。
3.腾冲地处板块交界处,板块的碰撞挤压形成褶皱山,这里气候湿润,降水丰富,常年的流水侵蚀形成深谷。冰川侵蚀主要在高海拔地区或高纬度地区,气候寒冷的地方;风力侵蚀主要在气候干旱的地方;风化作用不会形成深深的峡谷。选D正确。
考点:本题主要考查地壳运动的相关知识。
本题难度:困难
3、单选题 下列地质作用中,属于内力作用表现形式的是( )
A.侵蚀作用
B.岩浆活动
C.风化作用
D.沉积作用
参考答案:B
本题解析:试题分析:内力作用表现形式有岩浆活动、地壳运动和变质作用;侵蚀作用、风化作用、沉积作用是外力作用的表现。选B正确。
考点:主要考查地质作用。
本题难度:一般
4、单选题 关于红海形成的原因正确的是(???)
A.亚欧板块和非洲板块交界处,生长边界
B.印度洋板块和非洲板块交界处,生长边界
C.亚欧板块和非洲板块交界处,消亡边界
D.印度洋板块和非洲板块交界处,消亡边界
参考答案:B
本题解析:本题考查板块运动学说。红海位于印度洋板块与非洲板块的生长边界,红海的面积不断变大。所以本题选择B选项。
本题难度:简单
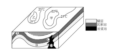
5、综合题 读“某地地质构造剖面及其地面等温线分布示意图”,回答问题。

参考答案:1.沉积岩;透水事故
2.石灰岩;大理岩;花岗岩
本题解析:
本题难度:一般