时间:2017-01-15 10:58:06
1、单选题 下图为某大陆北纬48°沿线地区的年降水量变化示意图,据此回答下列各题。
【小题1】该大陆为( )
A.欧洲大陆
B.南美大陆
C.北美大陆
D.澳大利亚大陆
【小题2】甲地气候类型为( )
A.温带海洋性气候
B.亚热带季风气候
C.热带雨林气候
D.亚寒带针叶林气候
【小题3】影响a地降水的主要风向是( )
A.东南风
B.东北风
C.西南风
D.西北风
参考答案:【小题1】C
【小题2】A
【小题3】C
本题解析:试题分析:
【小题1】读图,根据降水量分析,该大陆西部有高大山脉,迎风坡多地形雨。欧洲西部缺少高大山脉,A错。图示位于北半球,B错。北美大陆符合条件,C对。澳大利亚山脉分布在大陆东部,D错。
【小题2】结合前面分析,北美大陆西部,北纬48°沿线穿过地区是温带海洋性气候,A对。
【小题3】结合前面分析,a地是北美大陆西岸,常年受西风带影响,是山脉迎风坡,形成降水的主要风向是西南风,C对。
考点:不同区域气候类型差异,气候特征差异及成因。
本题难度:一般
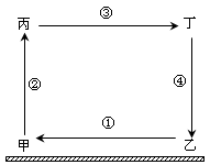
2、填空题 (9分)读图,完成下列问题。
(1)假设图为甲乙两地的热力环流图,判断甲乙丙丁四处气压由高到低的排列情况 。(2分)
(2)假设图为冬季海陆间的季风环流图,那么图中的甲地为 (填陆地或海洋),①风的性质为 。(4分)
(3)假设图为三圈环流中北半球的中纬环流图,判断甲乙的气压带名称:甲_________ 、乙 ____________;甲和乙之间的风带为_________________ 。(3分)
参考答案:(1)乙、甲、丙、丁 (2分)
(2)海洋(2分)
本题解析:试题分析:
(1)近地面气压始终高于高空,因此图中甲、乙两地气压高于丙、丁;甲地气流上升、乙地气流下沉,因此甲地气压低于乙地,高空中气压变化和近地面气压变化相反,因此图中甲乙丙丁四处气压由高到低的排列顺序是乙、甲、丙、丁。
(2)受海陆热力性质差异影响,冬季陆地散热速度比海洋快,陆地受热少、海洋受热多,因此陆地气流下沉、海洋气流上升,则甲为海洋、乙为陆地,此时风从陆地吹向海洋,寒冷干燥。
(3)中纬度指30°到60°之间,其中30°附近气流下沉形成副热带高压带,60°附近气流上升形成副极地低压带,两气压带之间形成西风带,则图中甲、乙分别为副极地低气压带、副热带高气压带,二者之间为盛行西风带。
考点:气压带风带
本题难度:一般
3、单选题 当阿留申群岛附近海域形成明显的低压中心时,下列叙述正确的是( )
①此时亚欧大陆受高压控制 ②巴西高原一片枯黄
③开普敦此时多雨 ④罗马正值多雨时期
A.①②
B.②③
C.①③
D.①④
参考答案:D
本题解析:本题考查海陆分布对全球气压带的影响。当阿留申群岛附近海域形成明显的低压中心时,陆地形成亚洲高压,为北半球的冬季,则太阳直射点位于南半球,巴西高原草木繁茂,开普通炎热干燥,罗马正值雨季。所以本题选择D选项。
本题难度:一般
4、单选题 下图示意地球上局部气压带和风带分布。读图完成下列各题:
【小题1】甲气压带表示( )
A.赤道低气压带
B.副热带高气压带
C.副极地低气压带
D.极地高气压带
【小题2】乙风带表示( )
A.东南信风带
B.极地东风带
C.中纬西风带
D.东北信风带
【小题3】当甲、乙位置偏南时,气压中心及北京盛行风向搭配正确的是( )
A.亚欧大陆受印度低压控制
B.北京盛行西北风
C.亚欧大陆受副热带高气压控制
D.北京盛行夏季风
参考答案:【小题1】A
【小题2】C
【小题3】B
本题解析:试题分析:
【小题1】读图,根据纬度和气压带风带分布位置,甲气压带位于赤道附近,表示赤道低气压带,A对。副热带高气压带位于30°纬线附近,副极地低气压带位于60°纬线附近,极地高气压带位于90°附近,B、C、D错。
【小题2】乙风带表示中纬西风带,C对。信风带位于0°-30°纬线之间,A、D错。极地东风带位于高纬地区,D错。
【小题3】当甲、乙位置偏南时,说明气压带、风带位置南移,北半球是冬季,北京受亚洲高压影响,盛行西北风, B对。A、C、D 错.
考点:气压带、风带分布规律,季节移动规律。
本题难度:简单
5、单选题 下图中①②③④表示气压带,⑤⑥⑦表示风带。读图回答下列各题。
【小题1】有关图中气压带和风带的判断,正确的是( )
A.①—低气压带—冷暖空气相遇形成
B.⑤—低纬信风带—东南风
C.②—高气压带—空气冷却下沉形成
D.⑥—中纬西风带—西南风
【小题2】当图中④地周围出现极夜时,下列地理现象最有可能出现的是( )
A.武汉梅雨
B.南京伏旱
C.北京寒潮
D.哈尔滨洪涝
参考答案:【小题1】D
【小题2】C
本题解析:试题分析:
【小题1】读图,图中①是赤道低气压带,是气流上升而形成,A错。⑤是低纬信风带,从风向右偏,判定是北半球,所以是东北风,所以B错。②是高气压带是空气动力下沉形成的,C错。⑥是中纬西风带,因是北半球,所以是西南风,D对。
【小题2】根据图中风向右偏,判定是北半球,所以④地周围出现极夜时,北半球是冬季,北京可能出现寒潮, C对。梅雨在6月中到7月中,伏旱在7-8月,哈尔滨洪涝在夏季,A、B、D错。
考点:气压带风带分布规律,不同区域气候的季节变化。
本题难度:一般