时间:2017-01-15 10:41:34
1、单选题 下图示意某区域某月一条海平面等压线,图中N地气压高于P地。读图,完成以下问题。
【小题1】N地风向为( )
A.东北风
B.东南风
C.西北风
D.西南风
【小题2】M、N、P、Q四地中,阴雨天气最有可能出现在( )
A.M地
B.N地
C.P地
D.Q地
【小题3】当M地月平均气压为全年最高的月份,可能出现的地理现象是( )
A.巴西高原处于干季
B.尼罗河进入丰水期
C.美国大平原麦收正忙
D.我国东北地区寒冷干燥
2、单选题 因气压带、风带的季节移动而形成的气候类型有
①热带草原气候 ②温带海洋气候 ③地中海气候 ④亚热带季风气候
A.①②
B.②④
C.③④
D.①③
3、综合题 (28分)云南省地处我国西南边睡,其西部地区山河相间,山高谷深,东部云贵高原喀斯特地貌广布,地表崎岖不平,省会昆明有“春城”之称。根据下列材料,结合所学知识,回答各题。

(1)图示准静止锋多出现于冬季,安顺与昆明相比,冬季气温 ,降水量 ,降水日数 ,从气团性质看,冬季影响安顺的气团是 。(8分)
(2)昆明是“四季无寒暑,一雨便成秋”的城市。这一说法的主要依据是 。(6分)
(3)石漠化是“石质荒漠化”的简称,云南省是我国石漠化分布集中的省份。简述云南省形成石漠化的自然条件。(6分)
(4)分析云南省西部山高谷深地貌的成因。(8分)
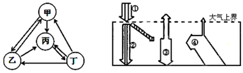
4、单选题 2012年1月以来,意大利埃特纳火山多次喷发,大量火山灰直冲云霄。左图为“地壳物质循环示意图”,右图为“大气受热过程示意图”。读图完成题。
【小题1】与埃特纳火山喷发形成的岩石类型一致的是图中的( )
A.甲
B.乙
C.丙
D.丁
【小题2】图5数码所示辐射中,直接受弥漫在大气中的火山灰影响而减弱的是( )
A.①
B.②
C.③
D.④
5、综合题 读沿50°N一带的四地近地面等压面分布图,回答下列问题(10分)
(1)从气压状况的角度分析,甲地近地面为???????????????气压控制,乙地近地面为????????????????????气压控制 (2分)
(2)从近地面气流状况分析,丙地吹????????????风 (1分)
(3)如果甲、乙、丙三地均受大气污染,在图中所受天气系统的控制下,近地面大气污染严重的是????????????,
原因是?????????????????????????????????(2分)
(4)如果甲地为海洋,乙地为陆地,则此时我国极地考察队的队员最有可能位于???????????(中山站,黄河站)。此时罗马的气候特征是????????????????????????????????????????????????,北京的气候特征是?????????????????????????????????????????(5分)