时间:2020-08-01 07:06:32
1、单选题 读图13回答问题。
【小题1】图中区域所示的板块个数为( )
A.3
B.4
C.5
D.6
【小题2】以下对图中事物描述正确的是( )
A.①②之间地震发生概率高于②④之间
B.板块挤压处⑤的地层年龄较轻
C.板块消亡边界附近②地多石灰矿
D.③附近的海域有岛弧链
2、单选题 下列山地中,成因和图中所示不同的是( )
A.庐山
B.喜马拉雅山
C.华山
D.泰山
3、单选题 下图为某地地质剖面图,勘探队员观察到,甲处有一自北向南流的河流,西岸冲刷严重;某日国际标准时10时40分,该地钻孔处旗杆的影子缩为一个点。完成下列题。
1.该地2.有关该地的判断,正确的是
A.位于南半球、非洲
B.位于北半球、非洲
C.一年中必有两次太阳直射
D.盛行风为东南风
E.四个钻孔都可能钻到地下溶洞
F.乙处岩石可能为岩浆岩
G.甲处河流可能有地下水补给
H.铁矿矿体形成时间比断层晚
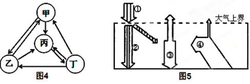
4、单选题 2012年1月以来,意大利埃特纳火山多次喷发,大量火山灰直冲云霄。图4为“地壳物质循环示意图”,图5为“大气受热过程示意图”。读图完成题。
小题1:与埃特纳火山喷发形成的岩石类型一致的是图4中的
A.甲
B.乙
C.丙
D.丁
小题2:图5数码所示辐射中,直接受弥漫在大气中的火山灰影响而减弱的是
A.①
B.②
C.③
D.④
5、单选题 读图,比较图中河流a,b,c三处的位置与三幅断面图,回答问题。
小题1:河流位置与断面对应关系正确的是
A.①—a,②—b,③—c
B.①—b,②—a,③—c
C.①—c,②—b,③—a
D.①—c,②—a,③—b
小题2:与河流位置a,b,c对应的外力作用分别是
A.侵蚀,搬运,沉积
B.侵蚀,沉积,搬运
C.沉积,搬运,侵蚀
D.搬运,沉积,侵蚀