时间:2020-08-01 06:11:40
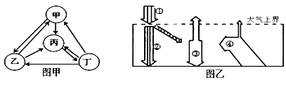
1、单选题 2013年8月18日下午,日本鹿儿岛县樱岛的昭和火山口发生爆炸性喷发,喷出的烟尘高达5000米,为观测史上最高的一次。大量火山灰直冲云霄。图甲为“地壳物质循环示意图”,图乙为“大气受热过程示意图”。读图完成下列小题。
【小题1】与昭和火山喷发形成的岩石类型一致的是图甲中的( )
A.甲
B.乙
C.丙
D.丁
【小题2】图乙数码所示辐射中,直接受弥漫在大气中的火山灰影响而减弱的是 ( )
A.①
B.②
C.③
D.④
参考答案:
【小题1】D
【小题2】B
本题解析:
【小题1】火山喷发形成的岩石为岩浆岩。岩浆岩只有岩浆喷发一种途径形成,甲图中丁为岩浆岩。
【小题2】弥漫在大气中的火山灰会削弱太阳辐射,使达到地表的太阳辐射减小。②为达到地表的太阳辐射。
考点:地壳物质循环。大气对太阳辐射的作用。
本题难度:一般
2、单选题 下图是我国某区域气候资料图。读图回答下列各题。
1.产生较大风力的月份,影响该地区的主要天气系统是2.该地区原料和工厂组合搭配正确的是
A.暖锋
B.冷锋
C.气旋
D.反气旋
E.橡胶—轮胎厂
F.甜菜—制糖厂
G.棉花—纺织厂
H.甘蔗—乙醇厂
参考答案:1. B
2. C
本题解析:试题分析:
1.根据图中的数据分析,该地夏季炎热,月平均气温在25°C以上,冬季寒冷,月平均气温在0°C以下,降水集中在7、8月份,可能是 我国的华北地区,图中显示,风力最大的时间是春季,符合华北地区春季因快行冷锋形成的大风天气多的特征,所以B对。暖锋一般运动速度慢,不会形成大风天气,A错。气旋一般会带来降水天气,图中显示大风时期的降水极少,所以C错。反气旋是一个高压天气系统,盛行下沉气流,一般风力较小,中心风力微弱,也不会有大风天气,D错。
2.结合上题分析,根据天气特征判断为华北地区,华北地区是我国的重要棉花产区之一,纺织业发展早,所以原料与工厂搭配正确的是C。华北地区不产橡胶,所以A错。华北地区主要是暖温带,甜菜的主产区在中温带,所以B错。华北地区不是甘蔗产区,甘蔗产区在南方地区,D错。
考点:该题考查中国区域地理,常见天气系统,区域工业发展。
本题难度:简单
3、单选题 如图为“北半球某气压场受力平衡时的风向图”,?图中气压单位为百帕,其中代表水平气压梯度力、地转偏向力、摩擦力和风向的字母依次是
A.a、b、c、d
B.a、b、d、c
C.b、a、d、c
D.c、b、a、d
参考答案:B
本题解析:
试题分析:图中形成风的三种力,a为水平气压梯度力,垂直于等压线,由高压指向低压,决定风向、风速。b为地转偏向力与风向垂直,影响风向(南半球向左偏,北半球向右偏)不影响风速。d为摩擦力与风向相反不影响风向,减小风速。C为风向。
考点:本题考查大气水平运动——风的相关知识。
点评:本题难度较小,本题还可考查高空中的风与近地面风的判断。
【规律方法】大气的水平运动(风的形成)

本题难度:一般
4、综合题 读图文材料,回答问题。
法国作家儒勒·凡尔纳的小说《格兰特船长的儿女》讲述了英国公爵根据漂流瓶提供的不完整信息,乘坐“邓肯号”,率领探险队沿着南纬37。一带,援救格兰特船长的故事。 
(1)“邓肯号”于1864年8月25日离开英国格拉斯哥,经过40多天航行,绕过麦哲伦海峡,于10月6日到
? 达智利西海岸的甲地。甲地的气候类型是____________气候,所属的自然带是______________带。
(2)探险队在南美大陆进行为期一个月的搜救活动,途经甲、乙、丙和丁四地,遭遇不同的自然灾害。
? 其中受到高山冰雪冻害威胁的是______地;途中遇到干涸盐湖,经受缺水煎熬的是__________地。
(3)在图上甲、乙、丙、丁四地区中,垂直地带性最明显的是___________地,丙地所处的自然带是___
? _______________带,丁地所处的自然带是______________带。从丁地到丙地的自然环境的变化反
? 映了_____________________的地带性差异。
(4)造成四地地理环境差异的主要自然因素有________________、________________。
参考答案:(1)地中海;亚热带常绿硬叶林
(2)乙;丙
(3)乙;温带荒漠;温带草原;经度或从沿海到内陆
(4)地形;海陆位置
本题解析:
本题难度:困难
5、单选题 下表是我国东部地区四地的气候资料,据表完成下面问题。
【小题1】表中①地区的植被类型和农作物是( )
A.针阔混交林,春小麦
B.针叶林,甜菜
C.亚热带常绿阔叶林,水稻
D.落叶阔叶林,棉花
【小题2】四地河流水文特征比较,描述正确的是( )
A.①地水位变化最小
B.②地含沙量最大
C.③地冰期最长
D.④地汛期最长
参考答案:
【小题1】D
【小题2】C
本题解析:
【小题1】根据气候资料判断,①地位于暖温带华北地区,②地位于热带南部沿海地区,③地位于中温带东北地区,④地位于亚热带长江中下游地区。华北地区属于温带季风气候,对应的植被为温带落叶阔叶林,农作物主要是棉花。D正确。
【小题2】我国的河流水位季节变化相对而言:南方较小,北方较大,西北更大,A错。我国含沙量最大的河流是黄河,很明显不在②。汛期最长的是珠江,在②地区。C位于东北地区,冰期最长。
考点:考查气候资料图的判读;河流的水文特征。
本题难度:一般