时间:2020-03-17 07:07:28
1、单选题 图示意某区域某时海平面等压线分布,虚线为晨昏线。读图完成下题。
小题1:此时,①地的盛行风向为
A.东北风
B.东南风
C.西北风
D.西南风
小题2:与①地相比,②地
A.气温年较差较小
B.正午太阳高度较大
C.昼长年变化较小
D.较早进入新的一天
小题3:图示现象可能出现在
A.1月
B.2月
C.7月
D.8月
参考答案:
小题1:C
小题2:D
小题3:A
本题解析:
小题1:根据图形可知①位于北纬60°,参照等压线分布状况,即可推知此时盛行西北风。
小题2:亚欧大陆的内陆地区气温年较差更大。太阳直射点一定在北回归线以南,所以该地正午太阳高度一定大于①地。纬度更高的②,昼夜长短年变化更大。②地位于东半球,较早进入新的一天;①地位于西半球,较晚进入新的一天。
小题3:亚欧大陆冷高压明显,所以为北半球冬季,故A正确。
本题难度:一般
2、单选题 读世界局部区域某时海平面等压线(单位:hPa)分布图,完成1—3题。
1、A城市主导风向为
[? ]
A.东南风
B.西北风
C.西南风
D.东北风
2、B河流该月径流量
[? ]
A.达一年中最小
B.达一年中最大
C.较大
D.较小
3、该河流受成潮影响可能出现在
[? ]
A.冬季
B.夏季
C.春季
D.秋季
参考答案:1、A
2、C
3、A
本题解析:
本题难度:一般
3、单选题 当北半球大陆上等温线向高纬凸出时,下列叙述正确的是
A.我国北方经常受寒潮的侵袭
B.上海正处高温多雨季节
C.开普敦是炎热干燥的夏季
D.塔里木河进入枯水期
参考答案:B
本题解析:根据题中所给条件可判断此时为北半球夏季(7月份),AD均发生在北半球冬季。上海为亚热带季风气候,夏季高温多雨;开普敦为南半球的地中海式气候,当南半球冬季时(7月份),温和多雨。
本题难度:简单
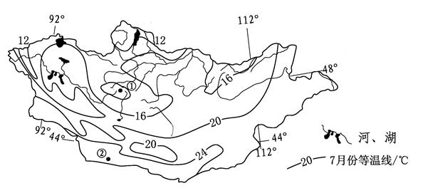
4、单选题 下图示意亚洲某内陆国水系分布和七月份气温分布情况。读图完成题。
小题1:图中①地的7月均温可能为
A.18℃
B.16℃
C.14℃
D.10℃
小题2:该国
A.年降水量南多北少
B.常年受西风带控制
C.东南部地势起伏大
D.水汽主要来自北冰洋
参考答案:
小题1:D
小题2:D
本题解析:
小题1:根据图示7月份气温的分布规律可知:等气温差是4℃,①地地势高,气温低,其气温范围是8℃-12℃之间,符合条件的只有D选项。故选D。
小题2:读图可知该国北部水系发达,表明北部降水多,南部少;东南部等温线稀疏,地势起伏小;因位于亚洲大陆内部,且离北冰洋较近,所以受西风影响较小,其水汽主要来自北冰洋。故选D。
点评:试题难度中等,解题关键是理解等温线的分布规律与区域降水的原因。根据图中的等值线分布判断①为低值中心,气温应低于12°C。另外我们还可根据图示的经纬度和轮廓判断,此国位于中国的北部,且为内陆国,可推出是蒙古国,即是温带大陆性气候,蒙古深居内陆,降水少,形成的自然带是温带荒漠带。
本题难度:一般
5、单选题 读等值线示意图,回答12—13题。
小题1:若实线表示等温线,虚线表示等盐度线,自北向南水温逐渐升高,盐度逐步减小,则图示海域是(?)
A.北半球中低纬度海区
B.北半球中高纬度海区
C.南半球中低纬度海区
D.南半球中高纬度海区
小题2:若实线表示等高线,虚线表示等潜水位线,甲处有河流经过,则该河流的特征是(?)
A.自南向北流,河水补给地下潜水
B.自南向北流,地下潜水补给河水
C.自北向南流,地下潜水补给河水
D.自北向南流,河水补给地下潜水
参考答案:
小题1:A
小题2:D
本题解析:略
本题难度:简单