时间:2020-03-17 04:48:10
1、单选题 水循环包括自然循环和社会循环。读下图,回答下列各题。
【小题1】图中①②③④分别为( )
A.蒸发、地表径流、跨流域调水、降水
B.降水、蒸发、地表径流、跨流域调水
C.跨流域调水、下渗、地下径流、蒸发
D.降水、地表径流、蒸发、跨流域调水
【小题2】在水资源的社会循环各环节中,下列做法不够恰当的是( )
A.取水──保护水源地
B.排水──防止当地污染
C.输水──减少过程损耗
D.用水──节约、综合利用
2、单选题 读下图完成1~2题
1.若该图为海陆间水循环示意图,下列城市中,过程④在一年之中持续时间最长的是
A.上海
B.鹿特丹
C.孟买
D.开普敦
2、若该图为太平洋环流示意图,且E、F两地附近全年昼夜等长,则
A.①洋流沿岸地区形成大面积的温带落叶阔叶林
B.②洋流自西向东依次穿过大西洋、太平洋、印度洋
C.③洋流附近形成热带荒漠景观
D.④洋流属于风海流,是东亚和北美太平洋间最佳航线
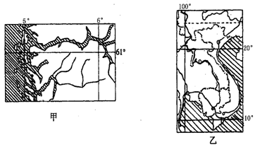
3、单选题 读下图甲和图乙,回答下列各题。
【小题1】图甲所示地区海岸线非常曲折,将会使当地 ( )
A.飓风影响范围扩大
B.温带海洋性气候范围扩大
C.洋流对沿岸的影响减弱
D.围海造田难度降低
【小题2】图乙所示地区 ( )
A.沿岸有季风洋流
B.山脉南北纵向排列
C.有小面积的沙漠分布
D.降水的季节变化不明显
【小题3】两图所示地区河流的共同特征是 ( )
A.有多种补给水源
B.有较长的结冰期
C.有凌汛
D.含沙量大
4、单选题 下图为某地区某水系分布图和M地月平均径流量曲线、降水量柱状示意图,读图回答下列各题。
【小题1】关于图中洋流N的叙述正确的是( )
A.可能为加那利寒流
B.可能为秘鲁寒流
C.对沿岸气候起增温增湿作用
D.洋流流向为自北向南
【小题2】下列关于图示区域的说法正确的是( )
A.甲河径流量夏季大于冬季
B.甲河干流易出现凌汛
C.冬季M地的沼泽有调蓄洪水的作用
D.甲地径流量峰值明显滞后于降水量峰值的主要原因是夏季蒸发旺盛
5、单选题 该图为某河流示意图,虚线和实线分别表示1月和7月的河面宽度,读图回答下面2题。
【小题1】下列关于该河及其流域的说法正确的是( )
A.水循环1月比7月活跃
B.河流径流量与气温呈正相关
C.1月河流输沙量少于7月
D.流域内植被以落叶阔叶林为主
【小题2】甲、乙、丙、丁四处河床,坡度最缓的是( )
A.甲
B.乙
C.丙
D.丁