时间:2020-01-16 06:22:50
1、单选题 在气压梯度力、地转偏向力和地面摩擦力的共同作用下,风向 ( )
A.平行于等压线 B.垂直于等压线 C、与等压线斜交 D,无确定方向
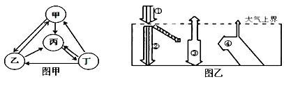
2、单选题 2013年8月18日下午,日本鹿儿岛县樱岛的昭和火山口发生爆炸性喷发,喷出的烟尘高达5000米,为观测史上最高的一次。大量火山灰直冲云霄。图甲为“地壳物质循环示意图”,图乙为“大气受热过程示意图”。读图完成下列小题。
【小题1】与昭和火山喷发形成的岩石类型一致的是图甲中的( )
A.甲
B.乙
C.丙
D.丁
【小题2】图乙数码所示辐射中,直接受弥漫在大气中的火山灰影响而减弱的是 ( )
A.①
B.②
C.③
D.④
3、综合题 读 图,回答下列问题。(每空1分,共5分。)

(1)根据图13中的风向判断,图示是北半球 ?季。
(2)根据甲、乙、丙、丁四种气候类型的分布规律,在图13中与其相对应的位置分别是(填写代表字母)??、?、?、??
4、综合题 读北半球某地区的海平面等压线图,完成下列要求。(共16分)
(1)请在虚线上用锋面符号绘出该地区的天气系统。(2分)
(2)影响甲处的天气系统是?,在该系统的控制下,甲处的天气特点是?。(2分)
(3)图中⑤处的风向为_________。①处与⑤处相比,风力较大的是__________________处,原因是____________________。(4分)
(4)过若干小时,②将受________(天气系统)影响,若此天气系统出现在我国的冬季,受其影响的地区可能出现______等天气现象。(选择填空)(4分)
A.天气晴朗
B.大风
C.气温下降
D.气温升高
(5)图中属于暖气团控制的地点是①、②、③、④的___________点。(2分)
(6)图中②、③、④处有可能出现连续性降水天气的是______处。(2分)
5、单选题 根据下表,判断气候类型是
A.亚热带季风气候
B.温带海洋性气候
C.地中海气候
D.热带草原气候